EasyManua.ls Logo

TermaTech TT23RG - Page 15

TermaTech TT23RG
Print Icon
To Next Page IconTo Next Page
To Next Page IconTo Next Page
To Previous Page IconTo Previous Page
To Previous Page IconTo Previous Page
Loading...
15
unter dem Ofen schief ist, oder wenn Sie möchten, dass der Ofen optisch „schwebt“ oder wenn
Sie eine Vorlegeplatte gewählt haben.
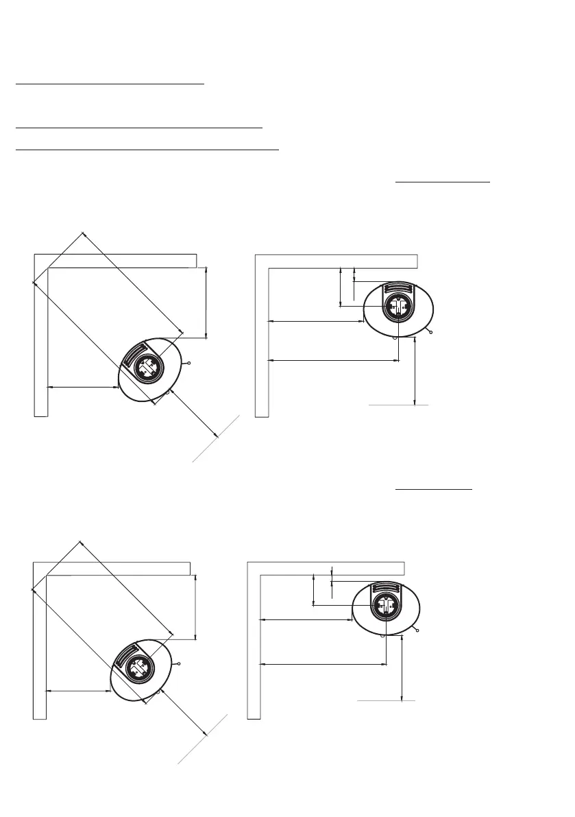
Brandschutz/Sicherheitsabstände (zu brennbaren Wände/Bauteilen)
Brandschutz im Strahlungsbereich
Im Strahlungsbereich des Sichtfensters dürfen im Abstand von 1100mm keine brennbaren Bau-
teile und Möbel aufgestellt werden.
Die Feuerstätte darf nicht verändert werden!
Brandschutz ausserhalb des Strahlungsbereichs
TT23RG +TT23RGS: Sicherheitsabstände bei Anwendung von UNISOLIERTEN Rohren*:
100mm hinter dem Ofen
700mm zur Seite
520mm bei Eckaufstellung 45°
1100mm vor dem Ofen
TT23RG /TT23RGS
TT23RG /TT23RGS
520
520
1046
1273
1100
100
700
960
283
1100
490
490
1003
1230
1100
50
700
960
233
1100
TT23RG +TT23RGS: Sicherheitsabstände bei Anwendung von ISOLIERTEN Rohren*:
50mm hinter dem Ofen
700mm zur Seite
490mm bei Eckaufstellung 45°
1100mm vor dem Ofen
TT23RG / TT23RG S
TT23RG / TT23RG S
520
520
1046
1273
1100
100
700
960
283
1100
490
490
1003
1230
1100
50
700
960
233
1100
*Diese Abstände gelten nur für den Kaminofen. Für Rohre gelten andere Abstände.

Related product manuals