EasyManua.ls Logo

TermaTech TT23RG - Page 4

TermaTech TT23RG
Print Icon
To Next Page IconTo Next Page
To Next Page IconTo Next Page
To Previous Page IconTo Previous Page
To Previous Page IconTo Previous Page
Loading...
4
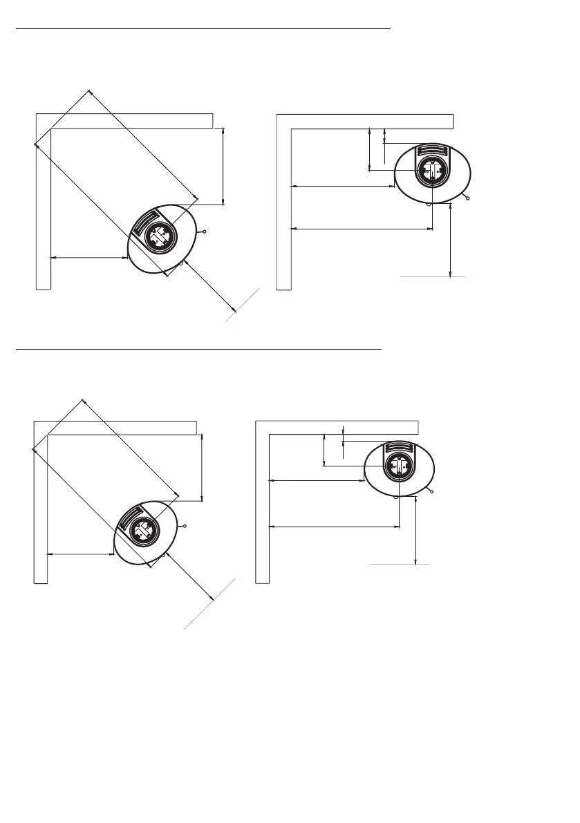
TT23RG +TT23RGS: Ved anvendelse af UISOLEREDE røgrør*
100mm bag ovnen til brændbart materiale
700mm til siden for ovnen til brændbart materiale
520mm ved hjørneopstilling 45°
1100mm foran ovnen til brændbart materiale
TT23RG/ TT23RGS
TT23RG/ TT23RGS
520
520
1046
1273
1100
100
700
960
283
1100
490
490
1003
1230
1100
50
700
960
233
1100
TT23RG +TT23RGS: Ved anvendelse af ISOLEREDE røgrør*
50mm bag ovnen til brændbart materiale.
700mm til siden for ovnen til brændbart materiale.
490mm ved hjørneopstilling 45°
1100mm foran ovnen til brændbart materiale.
TT23RG/ TT23RGS
TT23RG /TT23RGS
520
520
1046
1273
1100
100
700
960
283
1100
490
490
1003
1230
1100
50
700
960
233
1100
*Disse afstande gælder kun for brændeovnen. Der gælder andre afstande/regler for røgrør.

Related product manuals