EasyManua.ls Logo

Terra TX 760D - Page 25

Terra TX 760D
43 pages
Print Icon
To Next Page IconTo Next Page
To Next Page IconTo Next Page
To Previous Page IconTo Previous Page
To Previous Page IconTo Previous Page
Loading...
Revision B
December 16, 1996 3-3
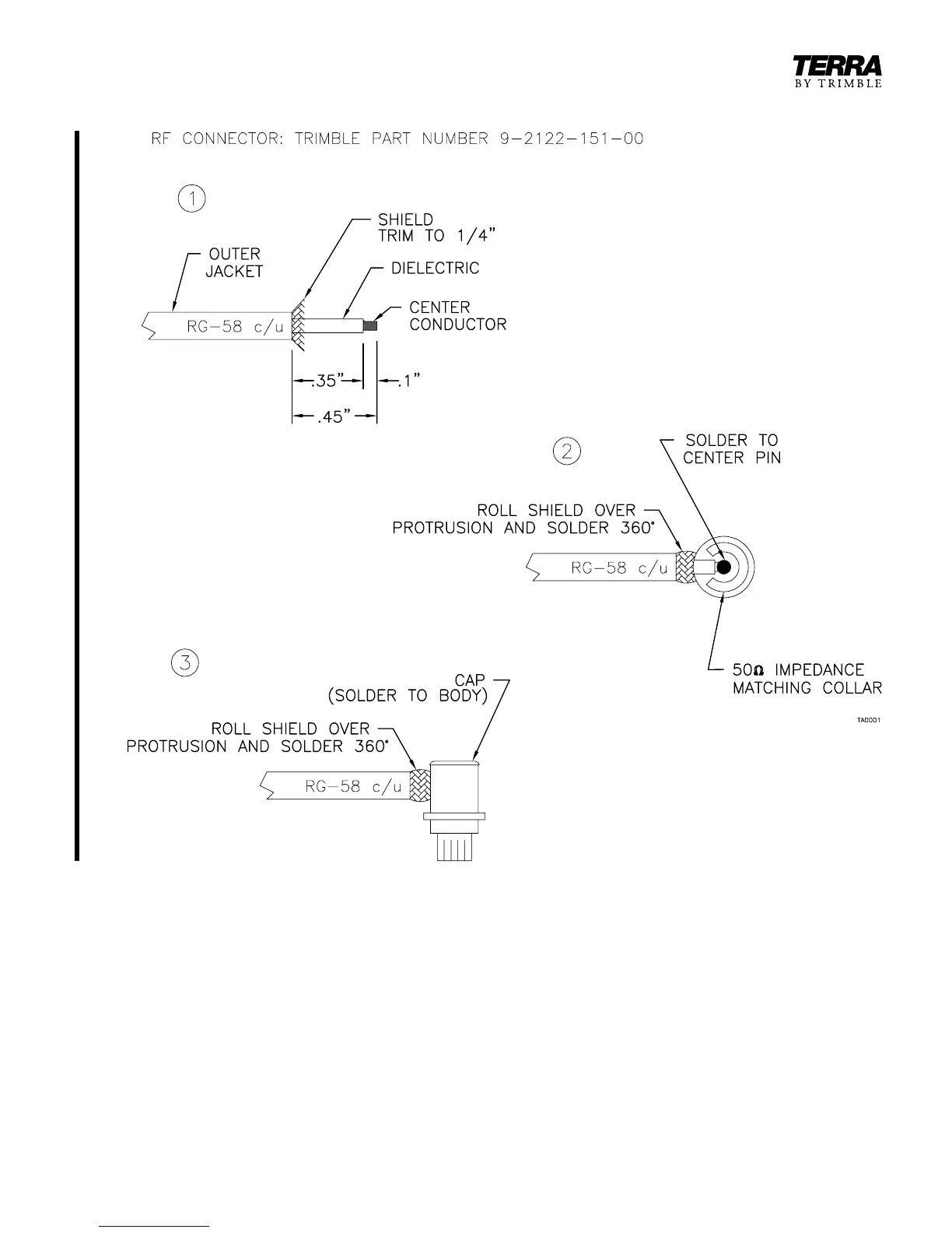
Figure 3-2
Coax Connector Drawing

Related product manuals