EasyManua.ls Logo

Tesla 43K307BF - Дистанционно Управление

Tesla 43K307BF
223 pages
Print Icon
To Next Page IconTo Next Page
To Next Page IconTo Next Page
To Previous Page IconTo Previous Page
To Previous Page IconTo Previous Page
Loading...
74
BG
ДИСТАНЦИОННО УПРАВЛЕНИЕ
Метод за поставяне на батериите в дистанционното управлениеч
Предпазни мерки при използване на дистанционно управление
Свалете капака на отсека за батериите, поставете две батерии тип ААА 1,5 волта и регулирайте с полярността,
отбелязана на отсека за батериите в дистанционното управление.
1. Когато използвате дистанционното управление, трябва да го насочите към индуктивното прозорче за дистанционното
управление. Предметите между дистанционното управление и индуктивното прозорче могат да попречат на
нормалната работа на телевизора.
2. Не подлагайте дистанционното управление на силни вибрации. Освен това, не излагайте дистанционното управление
на директна слънчева светлина, защото топлинната енергия ще предизвика деформиране на дистанционното
управление.
3. Ако индуктивното прозорче за дистанционно управление на основния уред е изложено на пряка слънчева светлина
или интензивно осветление, дистанционното управление може да се повреди; моля, променете ъгъла на осветеност
на това устройство или приближете индуктивното прозорче за работа с дистанционното управление.
4. Ниско напрежение на батериите оказва влияние на дистанционното управление. Трябва да смените батериите. Ако
дълго време не използвате дистанционното управление или ако батериите са изтощени, ги извадете, за да избегнете
изтичане на електролит от батериите, което причинява корозия на дистанционно управление и последващо
повреждане.
5. Не използвайте различни батерии. Не се позволява комбиниране на стари използвани и нови батерии. Трябва да
използвате батериите по двойки.
6. Не хвърляйте батерии в огън, не ги зареждайте и не ги разглобявайте, и най-вече не зареждайте, не монтирайте и
не разглобявайте, не загрявайте и не горете използвани стари батерии. Моля, спазвайте съответните разпоредби за
опазване на околната среда, които се отнасят до използвани батерии.
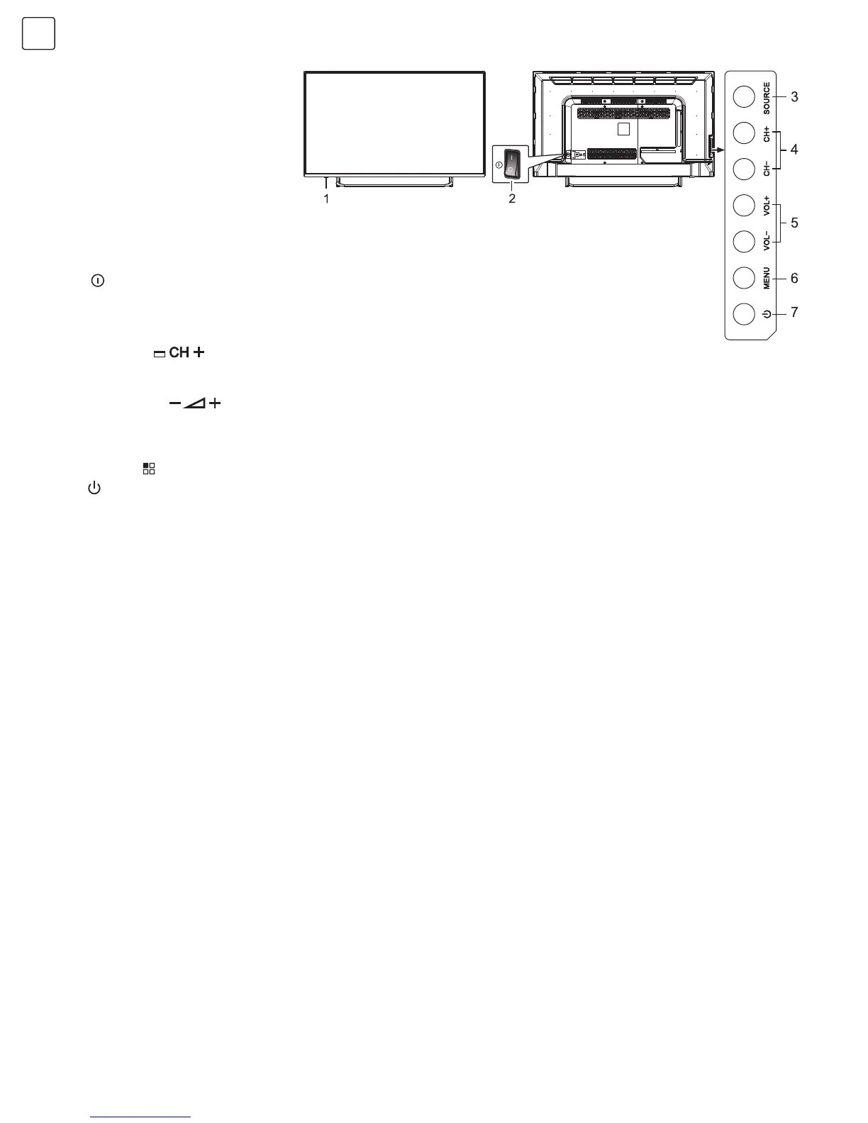
1. Светодиоден индикатор за захранване и прозорче за дистанционно приемане.
2.
Бутон на захранването (по избор): Натиснете „ I “, за да включите захранването и натиснете „ “,
за изключите захранването.
3. ИЗТОЧНИК: Натиснете този бутон, за да влезете в менюто на източника на сигнал и изберете
източника на сигнал.
4. CH-/CH+ (
): Натиснете тези два бутона, за да изберете канала. В меню OSD (Екранно
меню) натиснете двата бутона, при споделяне на функцията с бутон / на дистанционното
управление за да настроите елементите.
5. VOL-, VOL+ (
): Натиснете тези два бутона, за да увеличите или намалите силата на звука.
В меню OSD (Екранно меню) натиснете двата бутона, за да настроите аналоговата стойност на
избрания елемент. Тези бутони имат същите функции като бутоните t / u на дистанционното
управление.
6. МЕНЮ (
): Натиснете този бутон, за да влезете в главното меню.
7.
Режим на готовност: За включване на телевизора или връщането му обратно в режим на
готовност.
Забележка: Различните модели могат да имат различен вид; моля, вижте вашия уред.
43”

Table of Contents

Related product manuals