EasyManua.ls Logo

TET Electronics ARGOS-1200 - Page 6

Default Icon
16 pages
Print Icon
To Next Page IconTo Next Page
To Next Page IconTo Next Page
To Previous Page IconTo Previous Page
To Previous Page IconTo Previous Page
Loading...
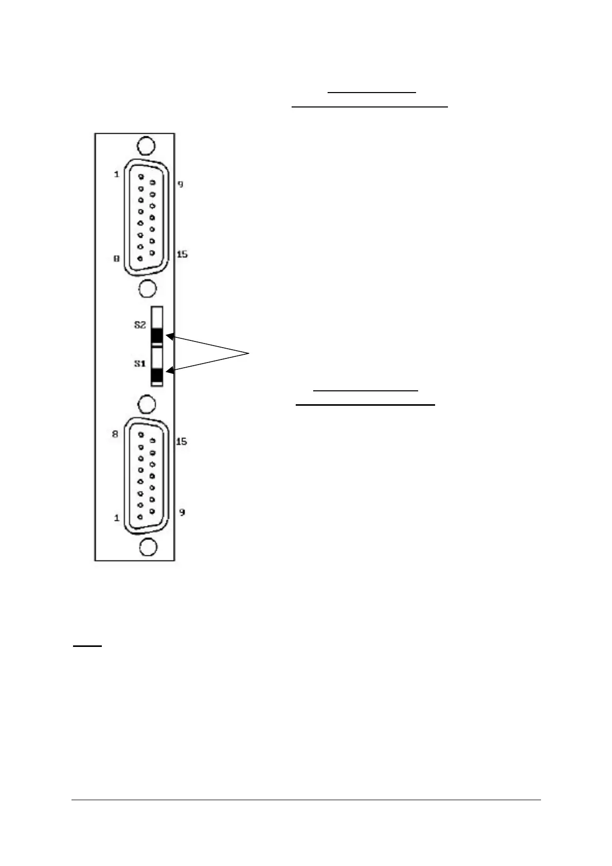
TB 4 pin layout
15 Pin Sub-D connector
TB 4 - 1 .............................. CC STATUS
RCP
TB 4 - 2 .............................. OV STATUS LATCHED
TB 4 - 3 .............................. (-) 15V
TB 4 - 4 .............................. (+) 15V
TB 4 - 5 .............................. OV PROG
TB 4 - 6 .............................. I PROG
TB 4 - 7 .............................. U-MONITOR
TB 4 - 8 .............................. GND
TB 4 - 9 .............................. OV RESET DIG
TB 4 - 10 .............................. REM ON/OFF DIG
TB 4 - 11 .............................. GND
TB 4 - 12 .............................. OTP-STATUS
TB 4 - 13 .............................. I-MONITOR
TB 4 - 14 .............................. GND
TB 4 - 15.............................. U PROG
Setting and Function see chapter 7.2 and 7.4
TB 3 PIN LAYOUT
15 Pin Sub-D connector
RVP/TRACKIG
TB3 TB4
ON
OFF
ON
OFF
TB 3 - 1............................... (+) SLAVE
TB 3 - 2............................... (+) MASTER
TB 3 - 3............................... (+) RCP
TB 3 - 4............................... (+) 10V REF
TB 3 - 5............................... (-) TRACKING
TB 3 - 6............................... REM ON/OFF
TB 3 - 7............................... OV RESET
TB 3 - 8............................... (+) RVP
TB 3 - 9............................... (-) SLAVE
TB 3 - 10 .............................. (-) MASTER
TB 3 - 11 .............................. (-) RCP
TB 3 - 12 .............................. GND or U-PROG *
TB 3 - 13 .............................. GND
TB 3 - 14 .............................. GND
TB 3 - 15 .............................. (-) RVP
Fig 3
* After june 1993 (Layout 4200-P1005): U-PROG
* Before june 1993 (Layout 4200-P0005): GND
Argos 1200
Page 6 von 16 ISSUE 07/05