EasyManua.ls Logo

Texas Instruments 99/4A - Page 140

Texas Instruments 99/4A
146 pages
Print Icon
To Next Page IconTo Next Page
To Next Page IconTo Next Page
To Previous Page IconTo Previous Page
To Previous Page IconTo Previous Page
Loading...
SION
32K
___
[MODULE
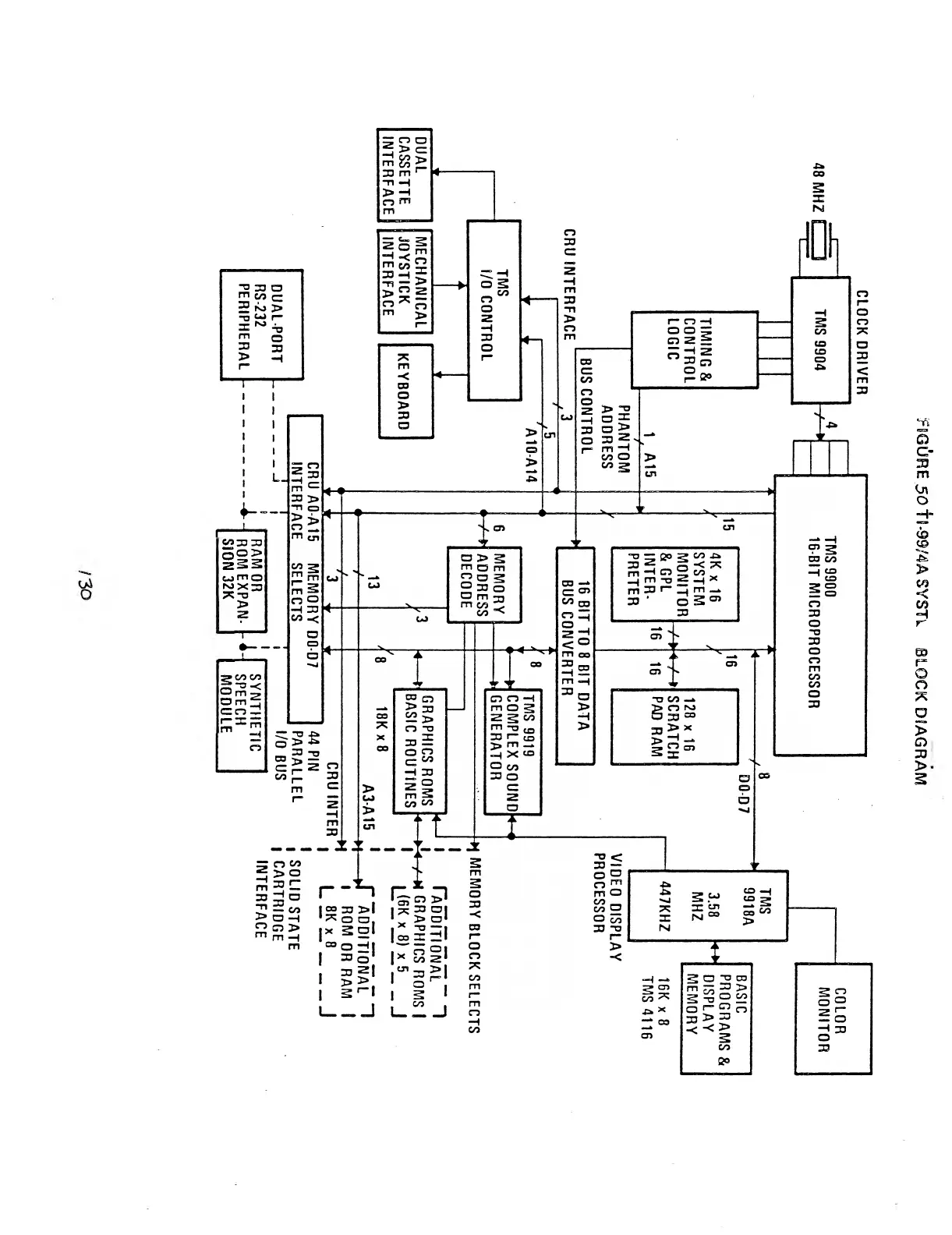
FIGURE
50
tl-99MA
SYSTk.
BLOCK
DIAGRAM

Related product manuals