EasyManua.ls Logo

Texas Instruments 99/4A - Page 142

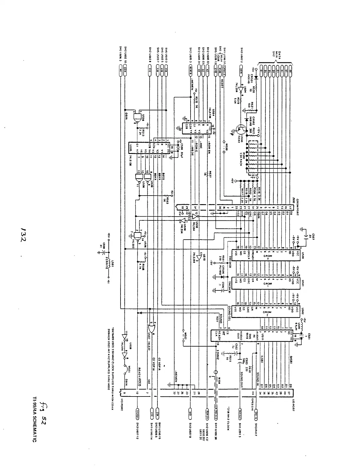
Texas Instruments 99/4A
146 pages
Print Icon
To Next Page IconTo Next Page
To Next Page IconTo Next Page
To Previous Page IconTo Previous Page
To Previous Page IconTo Previous Page
Loading...
W
Tl
-99/4A
SCHEMATIC

Related product manuals