EasyManua.ls Logo

Texas Instruments 99/4A - Page 39

Texas Instruments 99/4A
146 pages
Print Icon
To Next Page IconTo Next Page
To Next Page IconTo Next Page
To Previous Page IconTo Previous Page
To Previous Page IconTo Previous Page
Loading...
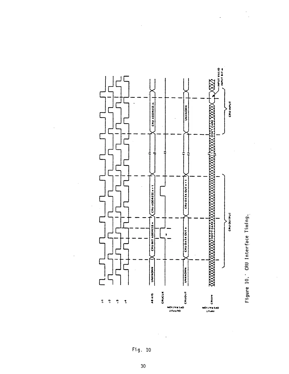
F ig u re
1 0 .
CRU
In te rfa c e
T im in g .
Fig.
10
30

Related product manuals