EasyManua.ls Logo

Texas Instruments 99/4A - Page 78

Texas Instruments 99/4A
146 pages
Print Icon
To Next Page IconTo Next Page
To Next Page IconTo Next Page
To Previous Page IconTo Previous Page
To Previous Page IconTo Previous Page
Loading...
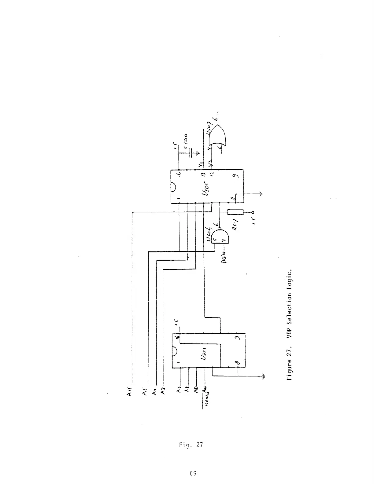
F ig u re
27.
VDP
S e le c tio n
L o g ic
Fig.
27
69

Related product manuals