EasyManua.ls Logo

THOMSON THVEL930HCS - Specifications Techniques; Instructions de Fonctionnement

THOMSON THVEL930HCS
Print Icon
To Next Page IconTo Next Page
To Next Page IconTo Next Page
To Previous Page IconTo Previous Page
To Previous Page IconTo Previous Page
Loading...
18. Une fois que l’appareil est assemblé, il est interdit de
démonter les grilles.
SPECIFICATIONS TECHNIQUES :
Modèle n°
THVEL930HCS
THVEL930HBS
THVEL930HBR
THVEL930HBB
Alimentation
220-240V~50Hz
Puissance
45W
Classe II
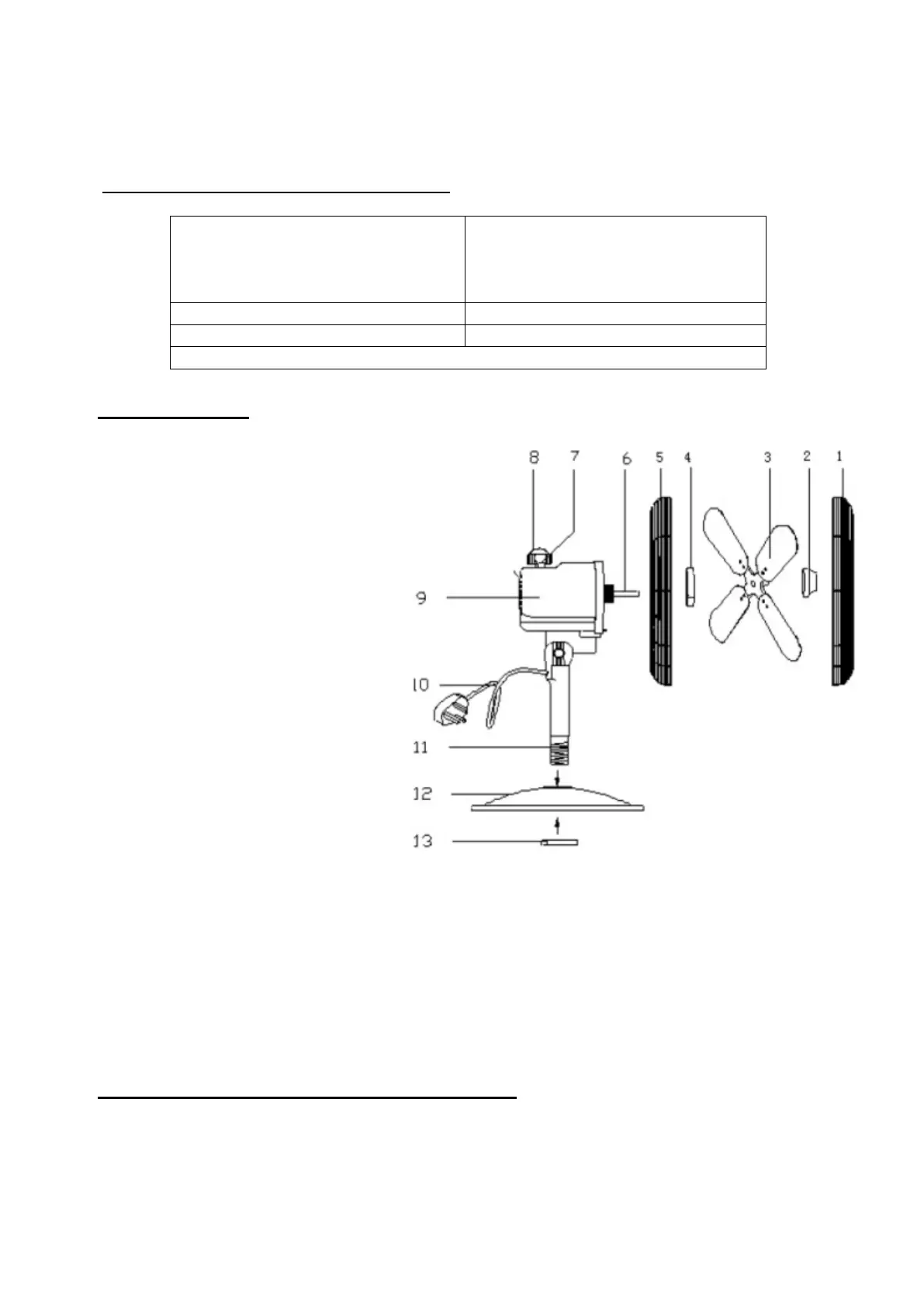
ASSEMBLAGE
1. Dévissez la pièce rotative
(2) dans le sens des aiguilles
d’une montre et l’écrou dans le
sens contraire des aiguilles
d’une montre (4), puis enlevez
les deux pièces.
2. Placez la grille arrière (5)
avec la poignée vers le haut.
3. Vissez fermement l’écrou
(4) en plastique pour fixer la
grille. (dans le sens des
aiguilles d’une montre)
4. Placez l’ailette (3) sur la tige
(6) jusqu’à ce qu’elle touche
l’axe de maintien.
5. Vissez la pièce rotative (2)
sur la tige du moteur dans le
sens contraire des aiguilles
d’une montre.
6. Dévissez la vis se trouvant sur l’une des grilles. Placez la grille avant sur la grille arrière, les petits
trous ronds situés en bas des grilles doivent correspondre, afin de faire passer la vis. Fixer les grilles à
l’aide des 3 clips puis serrez la vis de fermeture.
7. Introduisez le ventilateur (11) dans le socle (12), et vissez celui-ci avec l’écrou (13).
INSTRUCTIONS DE FONCTIONNEMENT
1. Pour activer ou arrêter l’oscillation, appuyez ou tirez sur le bouton (7).
2. Pour ajuster la trajectoire de l’air frais, inclinez vers le haut ou vers le bas, la grille de ventilation.
3. Vous pouvez régler la vitesse à l’aide des touches piano :
0 : arrêt - 1 : lent - 2 : moyen - 3 : rapide
4. Branchez le cordon d’alimentation dans une prise murale adaptée.
FR-4

Related product manuals