EasyManua.ls Logo

Thrustmaster T-GT II - Page 195

Thrustmaster T-GT II
305 pages
Print Icon
To Next Page IconTo Next Page
To Next Page IconTo Next Page
To Previous Page IconTo Previous Page
To Previous Page IconTo Previous Page
Loading...
2/16
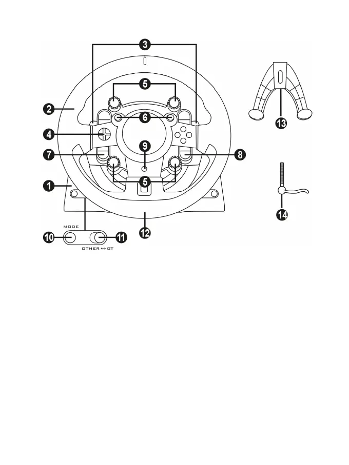
TEKNISKA DELAR
1 T-GT II-basen
2 T-GT II-ratten
3 Två sekventiella växelpaddlar (upp och ner)
4 Riktningsknappar
5 Fyra växlingsknappar med tryckfunktion
6 Två minispakar
7 SHARE/SKAPA-knapp
8 OPTIONS-knapp
9 PS-knapp
10 MODE-knapp + röd/grön indikatorlampa
11 Inbyggd USB-omkopplare: OTHER / GT
12 Stort gängat hål (för monteringssystem
och fästskruv)
13 Monteringssystem
14 Fästskruv av metall

Related product manuals