EasyManua.ls Logo

Thrustmaster TCA QUADRANT AIRBUS EDITION - Page 41

Thrustmaster TCA QUADRANT AIRBUS EDITION
379 pages
Print Icon
To Next Page IconTo Next Page
To Next Page IconTo Next Page
To Previous Page IconTo Previous Page
To Previous Page IconTo Previous Page
Loading...
4/18
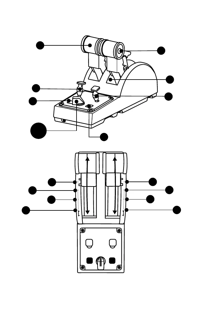
BELEGUNG DER 16 TASTEN UND 2 ACHSEN
1
3
5
7&8
6
4
3
2
9
10
11
13
14
15
16
12

Related product manuals