EasyManua.ls Logo

Time Module VD54B - Operation Manual of VD5 Chronographs; Time Setting Procedure; How to Use the Stopwatch

Default Icon
46 pages
Print Icon
To Next Page IconTo Next Page
To Next Page IconTo Next Page
To Previous Page IconTo Previous Page
To Previous Page IconTo Previous Page
Loading...
English
If either of the stopwatch hands are not in the "0" position , reset them following the procedure below.
1) Pull the crown out to :
VD50, VD51, VD52, VD53, VD57 (calibres with date window) : second click
VD54, VD55, VD56, VD59 (calibres without date window) : first click
2) Press button A or B to reset all stopwatch hands to "0" position.
* The stopwatch minute hand moves correspondingly with the stopwatch second hand.
* The hands move quickly if the respective buttons are kept pressed.
3) Push the crown back to the normal position.
* Before setting the time, check that the chronograph measurement is stopped.
VD50, VD51, VD52, VD53, VD57 (calibres with date window) :
1) Pull out the crown to the first click.
2) Turn the crown clockwise until the preview day's date appears.
3) Pull out the crown to the second click when the second hand
is at the 12 o'clock position. It will stop on the spot. Set the
hands to the desired time of the day (make sure AM/PM is set
correctly) by turning the crown.
* When the crown is at the second click position, do not press any button. Otherwise the chronograph hands
will move.
4) Push the crown back in the normal position in accordance with a time signal.
* Do not set the date between 9:00 P.M. and 1:00 A.M, otherwise the day may not change properly. If it is
necessary to set the date during the time period, firstly change the time to any time outside it, set the date and
then reset the correct time.
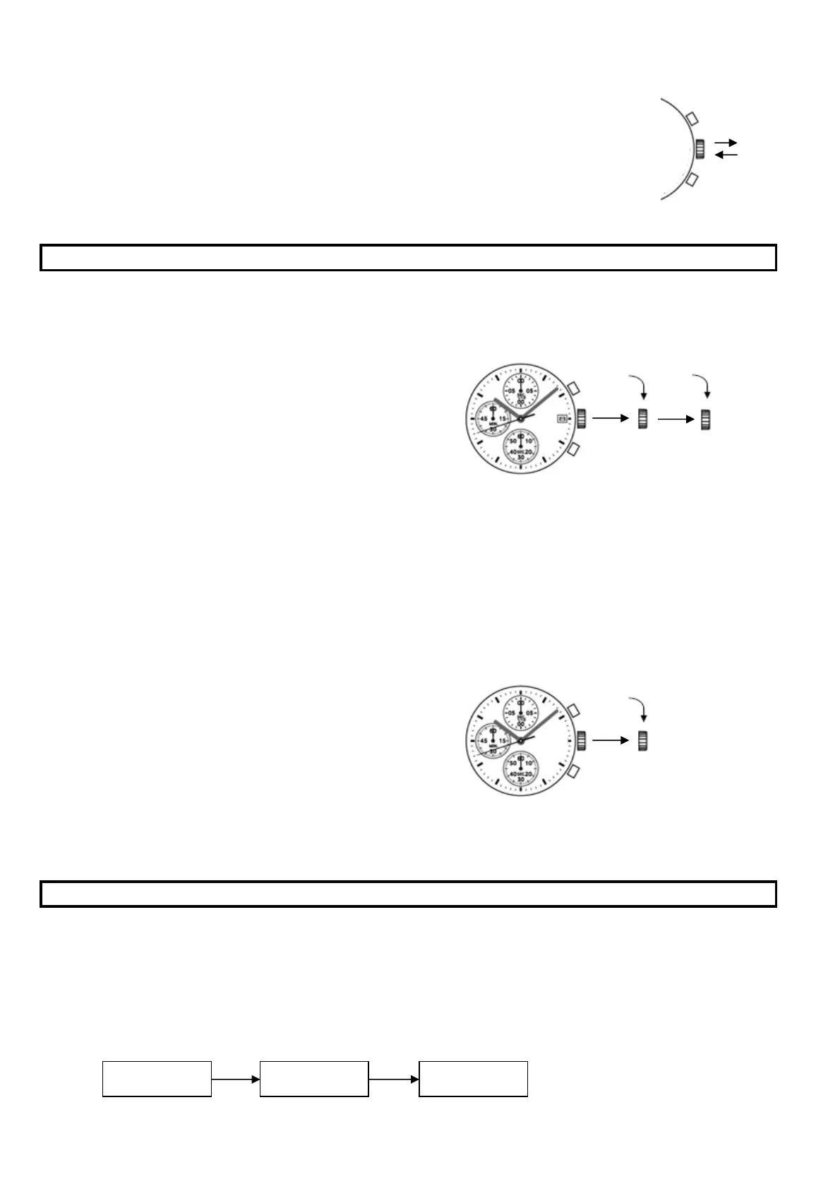
VD54, 55, 56, 59 (calibres without date window) :
1) Pull out the crown when the second hand is at the 12 o'clock
position. The second hand will stop on the spot.
2) Set the hands to the desired time of the day by turning the
crown
VD54, VD56, VD59 : make sure AM/PM is set correctly
* Do not press any button, otherwise the chronograph hands will move.
3) Push the crown back to the normal position in accordance with a time signal.
* The measurement time is indicated by the stopwatch hands that move independently of the center hands (and
24-hour hand where applicable).
* The stopwatch can measure up to 60 minutes
* The stopwatch measures in 1/10 second increments. (VD50, VD55, VD56, VD57, VD59)
Standard measurement (e.g. 100m race)
Press the buttons in the following order :
TIME SETTING
HOW TO USE THE STOPWATCH
Button A
Button B
set the day
set the time
set the time
Button A
(START)
Button A
(STOP)
Button B
(RESET)

Related product manuals