EasyManua.ls Logo

Titan 6500 - Page 22

Titan 6500
24 pages
Print Icon
To Next Page IconTo Next Page
To Next Page IconTo Next Page
To Previous Page IconTo Previous Page
To Previous Page IconTo Previous Page
Loading...
22
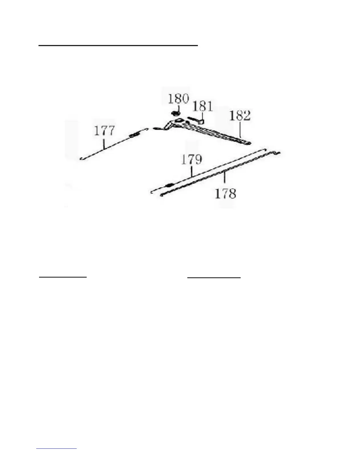
Part Name
Titan Part #
Some Parts Sold As Assemblies
177- Governor Spring
178- Governor Rod
179- Throttle Return Spring
180- Nut
181- Bolt
182- Governor Arm
TI 12-10
TI 12-10
TI 12-10
N\A
N\A
TI 12-10
7. Governor Arm Assembly

Related product manuals