EasyManua.ls Logo

TJERNLUND VP-2F - Typical Installation; Sequence of Operation

Default Icon
15 pages
Print Icon
To Next Page IconTo Next Page
To Next Page IconTo Next Page
To Previous Page IconTo Previous Page
To Previous Page IconTo Previous Page
Loading...
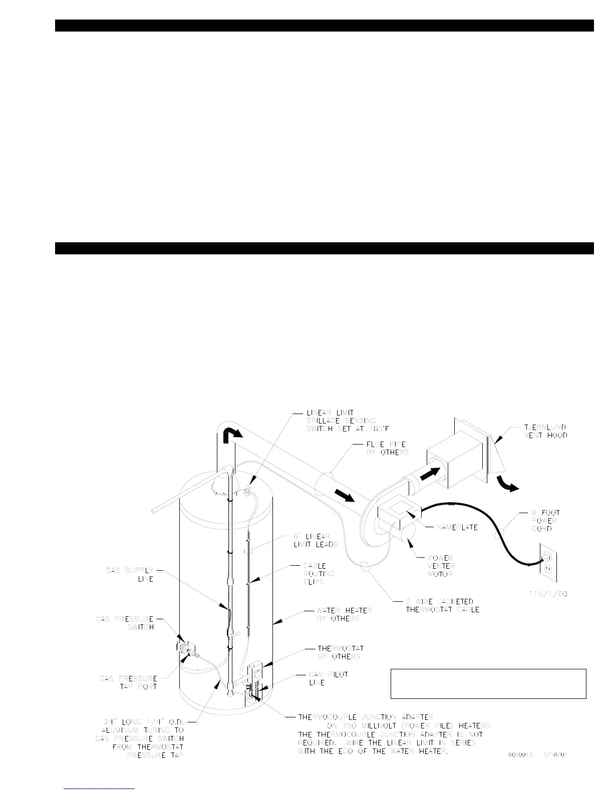
INSTALLER NOTES
1. The installer must read and follow these instructions carefully to assure proper installation and operation of the water
heater vent package.
2. The installer must fill in the required information on the nameplate located on the Power Venter electrical box.
3. The installer must affix the wiring diagram label included with these instructions to the water heater casing adjacent to
its rating plate.
4. The water heater may only be installed on the suction side of Power Venter.
5. The installer must notify the owner of the maintenance (Page 13) required with the use of this product.
6. The installer must verify that the pilot safety controls on water heater are in good operating condition before
installation of the water heater vent package.
7. The Power Venter must not be installed into any portion of a vent system which serves appliances other than the
one(s) vented by the VP-2F or VP-3F.
SEQUENCE OF OPERATION
1. Water heater thermostat calls for heat.
2. Simultaneously, the Power Venter is actuated by the gas pressure switch and the burner fires.
3. When the thermostat is satisfied the burner shuts down.
4. The Power Venter continues to operate for a non-adjustable time period of approximately 45 seconds to purge the
vent system of residual flue gases.
5. If, at any time, sustained flue gas spillage is detected by the Linear Limit spillage sensing switch the pilot / ECO circuit
is de-energized, disrupting the flow of gas to the burner and pilot. The reset button on the Linear Limit will need to be
pushed in and the pilot will need to be relit to establish water heater operation.
TYPICAL INSTALLATION
2
NOTE:
NOTE: The installer must install the Power
Venter downstream of the draft hood.