EasyManua.ls Logo

TMC 30E - Page 166

Default Icon
182 pages
Print Icon
To Next Page IconTo Next Page
To Next Page IconTo Next Page
To Previous Page IconTo Previous Page
To Previous Page IconTo Previous Page
Loading...
Injection Molding Machine Appendix A
A-21
V3.0
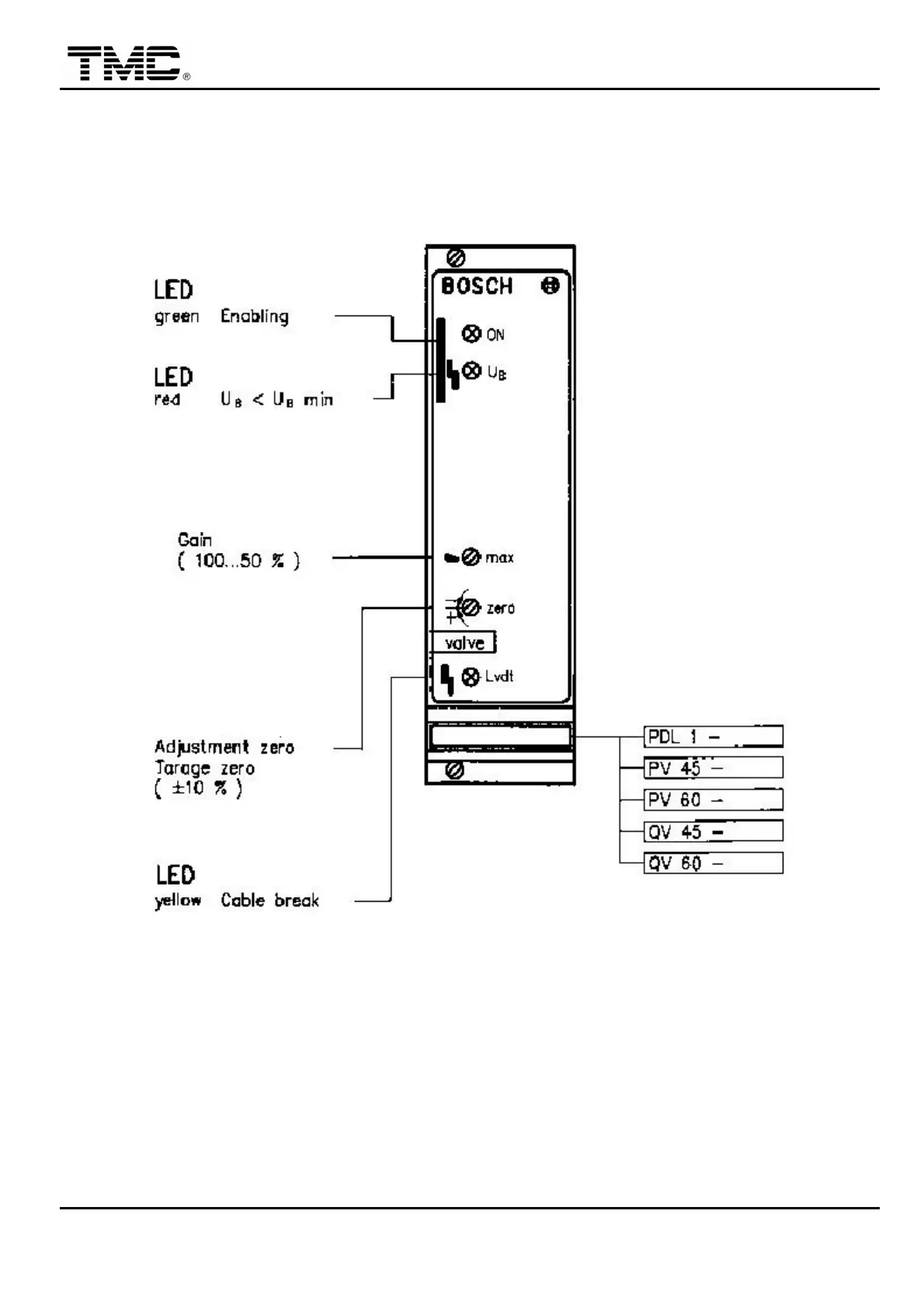
BOSCH Proportional System
2.4 If the clamp still can’t be opened, turn max. adjustable resistor
in pressure control board PV60 (fully C.W in), then press manual clamp
open/close key intermittently to re-open it again.
Attention: The adjustable resistor max. must be restored after the clamp
is opened.
CALL TMC OR TMC LOCAL AGENT IF MOLD STILL CAN’T BE OPENED.