EasyManua.ls Logo

Topcom BD-4627 - Installazione Delle Batterie

Topcom BD-4627
140 pages
Print Icon
To Next Page IconTo Next Page
To Next Page IconTo Next Page
To Previous Page IconTo Previous Page
To Previous Page IconTo Previous Page
Loading...
78
TOPCOM BD-4627
5.2 Perché misurare la pressione sanguigna?
Tra i vari problemi di salute che affliggono la popolazione attuale, i problemi associati
all'alta pressione sanguigna sono di gran lunga i più comuni. La stretta relazione
esistente tra alta pressione sanguigna, malattie cardiovascolari ed elevata morbilità
rappresenta un pericolo. Per questa ragione è necessario misurare la pressione
sanguigna e individuare le situazioni a rischio.
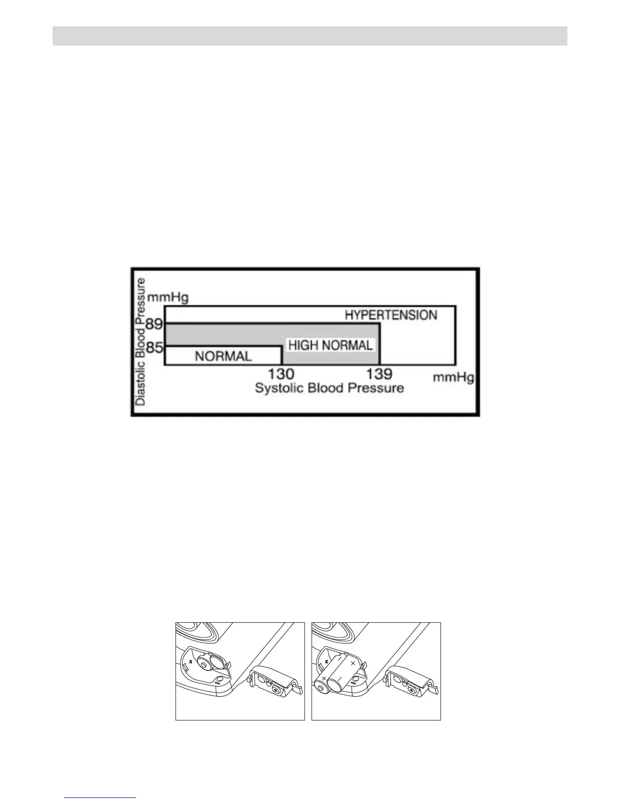
5.3 Standard di pressione sanguigna
L'Organizzazione Mondiale della Sanità (OMS) hanno creato uno standard della
pressione sanguigna, secondo il quale vengono individuate le aree a basso e alto rischio
della pressione sanguigna. Tuttavia, questo standard fornisce un orientamento
generale, poiché la pressione sanguigna varia a seconda delle persone, dei gruppi, ecc.
È importante consultare il medico regolarmente. Il medico sarà in grado di indicarvi il
vostro normale intervallo di pressione sanguigna nonché il punto in cui sarete considerati
a rischio.
5.4 Fluttuazione della pressione sanguigna
La pressione sanguigna è in continua fluttuazione.
Non dovreste preoccuparvi se vi risultano due o tre misurazioni a livelli alti. La pressione
sanguigna cambia durante il mese e anche durante il giorno a seconda delle circostanze
(stato emotivo, temperatura, ecc.)
6Installazione delle batterie
•Aprite il compartimento batterie togliendo il coperchio

Table of Contents

Related product manuals