EasyManua.ls Logo

Toro 74179 - Servicing the Primary Filter; Servicing the Engine Oil; Checking the Oil Level

Toro 74179
52 pages
Print Icon
To Next Page IconTo Next Page
To Next Page IconTo Next Page
To Previous Page IconTo Previous Page
To Previous Page IconTo Previous Page
Loading...
30
Servicing the Primary Filter
Check and/or replace it after 200 operating hours.
If the primary filter is dirty, bent, or damaged then replace
the filter.
Do not clean the primary filter.
Servicing the Safety Filter
Replace it after 600 operating hours.
Important Never attempt to clean the safety filter. If
the safety filter is dirty, then the primary filter is damaged
and you should replace both filters.
Installing the Filters
Important To prevent engine damage, always operate
the engine with both air filters and cover installed.
1. If installing new filters, check each filter for shipping
damage. Do not use a damaged filter.
2. If the safety filter is being replaced, carefully slide it
into the filter body (Fig. 32).
3. Carefully slide the primary filter over the safety filter
(Fig. 32). Ensure that it is fully seated by pushing on the
outer rim of the filter while installing it.
Important Do not press on the soft inside area of the
filter.
4. Install the air cleaner cover with the side indicated as
UP facing up and secure the latches (Fig. 32).
Servicing the Engine Oil
Change the oil:
After the first 8 operating hours.
After every 100 operating hours.
Note: Change the oil more frequently when operating
conditions are extremely dusty or sandy.
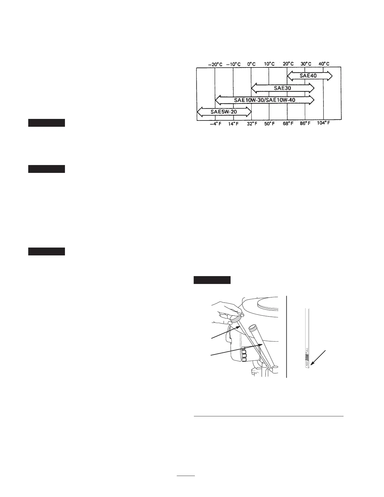
Oil Type: Detergent oil (API service SG or SH)
Crankcase Capacity: 51 oz. (1.5 l) (When the oil filter is
not removed)
Viscosity: See the table below.
USE THESE SAE VISCOSITY OILS
m–4292
Checking the Oil Level
Check the engine oil level daily.
1. Park the machine on a level surface, disengage the
power take off (PTO), stop the engine, and remove the
key.
2. Clean around the oil dipstick (Fig. 33) so that dirt
cannot fall into the filler hole and damage the engine.
3. Unscrew the oil dipstick and wipe the end clean
(Fig. 33).
4. Slide the oil dipstick fully into the filler tube. Do not
thread it onto the tube (Fig. 33). Pull the dipstick out
and look at the end. If the oil level is low, slowly pour
only enough oil into the filler tube to raise the level to
the full mark.
Important Do not overfill the crankcase with oil
because the engine may be damaged.
2
3
1
m–4368
Figure 33
1. Oil dipstick
2. Filler tube
3. Dipstick end

Table of Contents

Related product manuals