Home
Toyota
Automobile
Celica
Page 8
Toyota Celica - Page 8
14 pages
Manual
Save Page as PDF
To Next Page
To Next Page
To Previous Page
To Previous Page
Loading...
CEL11-0502ENUK-03-00
CEL11-0502ENUK-03-00
7
T
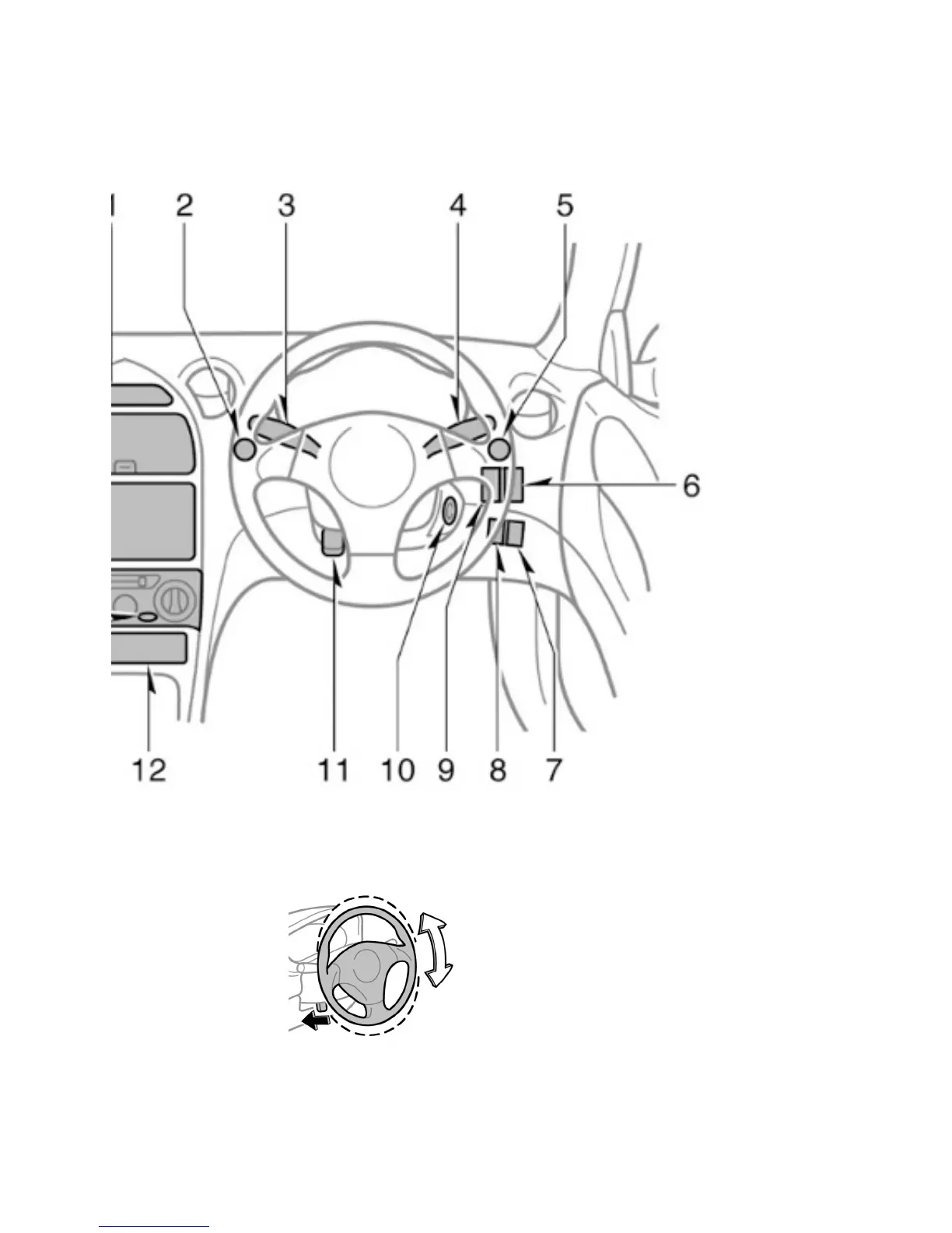
o change the steering wheel
angle, hold the steering wheel,
push the lock release lever
, tilt
the steering wheel to the desired
angle and return the lever to its
original position.
Tilt steering wheel
7
9
Table of Contents
Main Page
Table of Contents
2
Introducing Celica
3
Lock System
4
Seats and Seat Belts
5
Bonnet and Fuel Tank Opening
6
Dashboard
7
Instrument Cluster Overview
9
Fuel Gauge
9
Lights and Wipers
10
Headlights
10
High-Low Beams
10
Heating and A/C Control
11
Power Windows
12
Gear Change
12
Tyre Change
13
Service
13
Related product manuals
Toyota 2000 Celica
255 pages
Toyota 2001 CELICA
231 pages
Toyota Celica 2004
259 pages
Toyota 2005 Celica
281 pages
Toyota 2004 CELICA
284 pages
Toyota Celica 2003
280 pages
Toyota 1997 Celica
218 pages
Toyota Celica 1997
210 pages
Toyota Celica 2000
255 pages
Toyota 1996 Celica
193 pages
Toyota Celica 2002
231 pages
Toyota Celica 1996
203 pages