EasyManua.ls Logo

Traynor DynaGain DG65R - Chassis Layout; Top Panel Controls; Rear Panel Connections

Traynor DynaGain DG65R
14 pages
Print Icon
To Next Page IconTo Next Page
To Next Page IconTo Next Page
To Previous Page IconTo Previous Page
To Previous Page IconTo Previous Page
Loading...
2
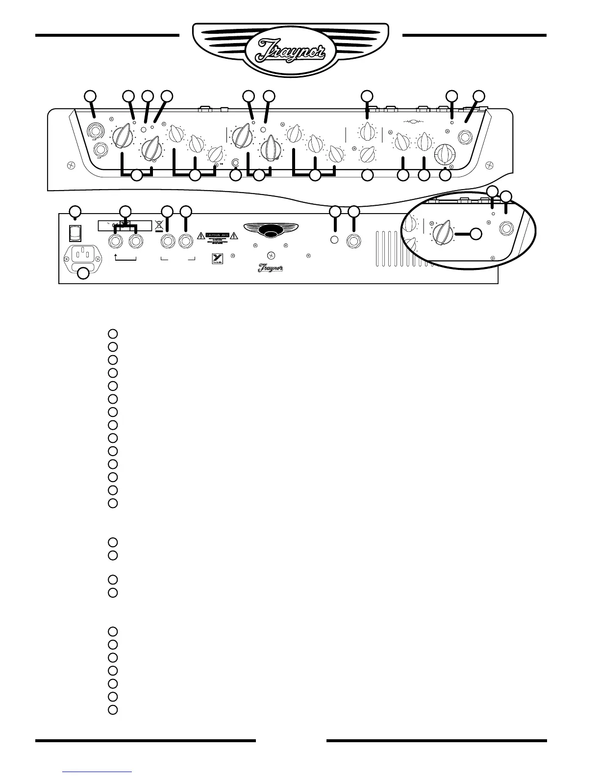
Chassis Layout
Top
1
Input Jacks two ¼-inch phone jacks. Hi and Lo gain.
2
Channel 1 indicator LED Illuminates yellow when active.
3
Channel 1 Boost Switch Activates the boost circuitry for extra crunch.
4
Boost LED Illuminates red when the boost is active.
5
Channel 1 Gain and Volume controls.
6
Channel 1 Tone Controls Treble, Bass, and Middle.
7
Channel Select Switch Channel 1 is optimized for lead, Channel 2 for clean sound
8
Channel 2 Gain and Volume Controls.
9
Channel 2 Indicator LED Illuminates green when active.
10
Channel 2 Brightness Switch Add sparkle to your clean sound.
11
Channel 2 Tone Controls Treble, Bass, and Middle.
12
Contour Control Adjusts the character from vintage tones to modern sounds.
13
Master Control Adjusts the amount of output power available.
14
Reverb Control
- Adjusts the Accutronics® reverb level for both channels. (DG65R only)
- Adjusts the DSP reverb level for both channels. (DG65D only)
15
Effects Control Adjusts the DSP modulation effects for both channels. (DG65D only)
16
Effects Select Chooses the type of modulation effect for both channels. (The reverb is
not affected by this control except in Special mode.) (DG65D only)
17
Power Indicator Illuminates green when the amplifier is turned on.
18
Headphone Jack- Speaker emulated output. Can also be used as a line out.
Rear
19
Power Switch.
20
Fuse and Power Cord
21
Send / Rtn (Efx/Line) jacks ¼-inch phone input and output jacks.
22
Effects Defeat jack- uses a ¼-inch TRS standard latching dual-footswitch.
23
Channel Select Footswitch jack uses a ¼-inch TRS standard latching dual-footswitch.
24
Internal Speaker Defeat switch- disconnects the internal speaker from the amplifier.
25
Extension Speaker jack –¼-inch phone jack.
MODEL TYPE:
YS1041
CAUTION: REPLACE WITH
SAME TYPE FUSE AND RATING
ATTENTION: UTILISER UN FUSIBLE DE
RECHANGE DE MEME TYPE ET CALIBRE
PREAMP
OUT
REV / EFX
DEFEAT
FOOTSWITCH
AMP IN
ON
CH. SELECT
/ BOOST
DESIGNED & MANUFACTURED BY
YORKVILLE SOUND • Toronto, CANADA
INTERNAL
SPEAKER
DEFEA
T
EXTERNAL
SPEAKER
TRAYNOR DG65D
Z697/1v1
Yorkville
120VAC
60Hz 0.5A
FUSE: T2.0A sloBlo
230V
50Hz 0,25A
FUSE: T1,0A
DynaGain
65
Minimum Speaker
Load 4-ohms tot
al
(8-ohm Internal Speaker)
0
5
10
Tre bl e
Boost
Hi
INPUTS
Brigh t
0
5
10
Middl e
0
5
10
Bass
0
5
10
Tre bl e
0
5
10
Contour
0
1
10
0.
1
65 Watt
s
MASTER
0
5
10
Middl e
0
5
10
Bass
0
5
10
GAIN
0
5
10
VOLUME
0
5
10
VOLUME
0
5
10
GAIN
Lo
CHANNEL
SELECT
1
2
POWER
0
5
10
Effects
Level
0
5
10
Reverb
Level
EFFECTS
SELECT
V
I
B
R
A
T
O
S
P
E
C
I
A
L
DSP
PHONES
F
L
A
N
G
E
R
C
H
O
R
U
S
0
5
10
0
1
10
65 Watt
s
0
5
10
REVERB
POWER
PHONES
13
20
1
3
4
2
6
11
7
9
10
12
17
18
14
15
16
19
21
23
22
25
24
17
18
14
5
8

Related product manuals