EasyManua.ls Logo

TriangleTube S01 - Route Speaker Cables; Install Decoupling Spikes; Connect Base Plate to Column; Connect Top Plate to Column

TriangleTube S01
Print Icon
To Next Page IconTo Next Page
To Next Page IconTo Next Page
To Previous Page IconTo Previous Page
To Previous Page IconTo Previous Page
Loading...
a.
c.
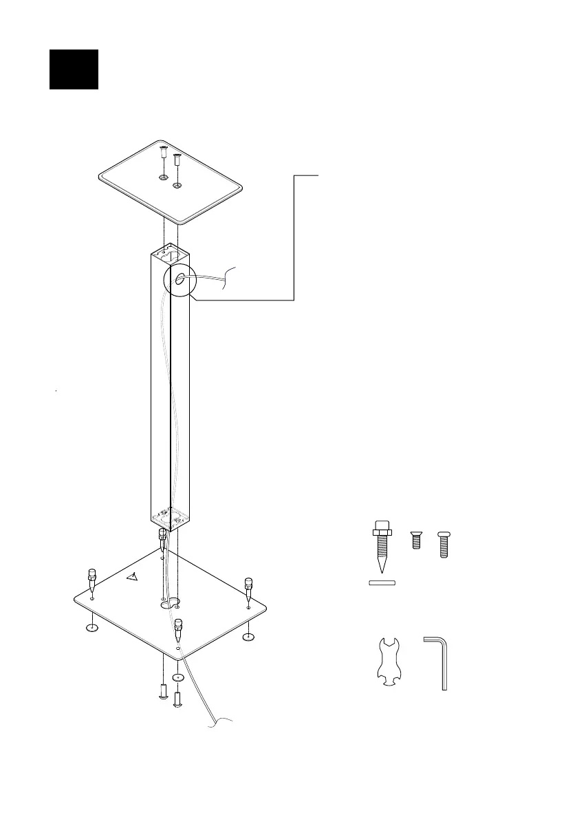
ASSEMBLY OF S01 STAND
EN
x4
x1 x1
a.
x2
b.
b.
x2
c.
1- Route the speaker cables through the
dedicated holes.
2- Screw the decoupling spikes to the
pedestal plate.
3- Screw the pedestal plate to the
column with the provided screws (c.).
4- Screw the top plate to the column
with the provided screws (b.).

Related product manuals