EasyManua.ls Logo

Trio VT-121 - Page 7

Default Icon
28 pages
Print Icon
To Next Page IconTo Next Page
To Next Page IconTo Next Page
To Previous Page IconTo Previous Page
To Previous Page IconTo Previous Page
Loading...
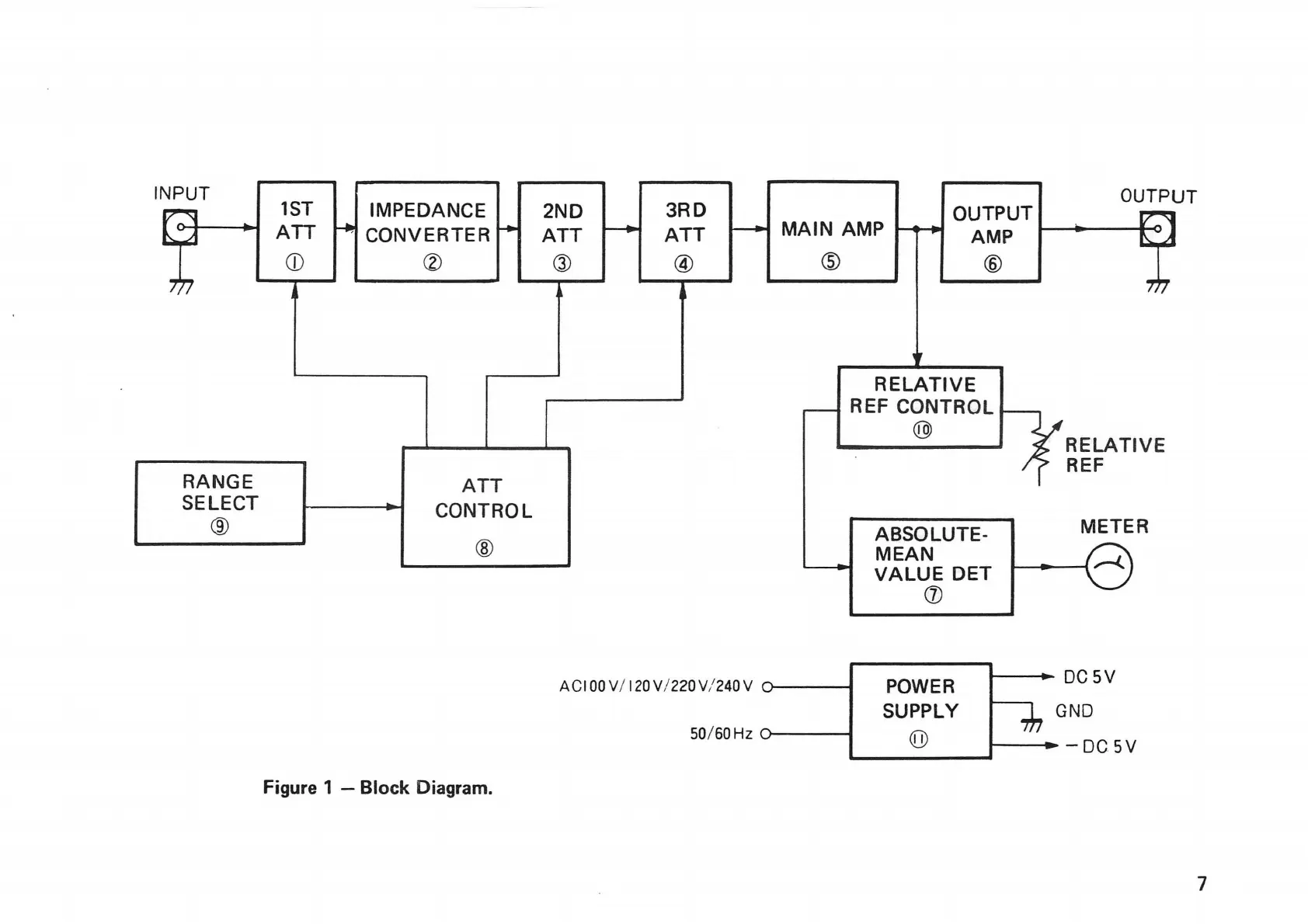
INPUT
RANGE
SELECT
@
1ST IMPEDANCE
2ND
ATT
~
CONVERTER
f-+
ATT
1----+
Q)
Cl>
Q)
ATT
CONTROL
@
3RD
OUTPUT
OUTPUT
ATT
f-
MAl
N AMP
.............
....,
AMP
1--....._---+~-o~
@ @ @
RELATIVE
- REF
CONTROL
----,
@ <
1>>
RELATIVE
/j
REF
ABSOLUTE-
MEAN
VALUE
DET
(J)
METER
t---<--;
,....-{
ACIOOV/
120V
/ 220V/ 240V
n-----1
POWER
SUPPLY
@
t----+-
DC
5 V
Figure 1 -
Block
Diagram.
50/60Hz
o-----1
GND
.,__,.
-ocsv
.__
___
_
7