EasyManua.ls Logo

Triple E EMBASSY SERIES - Plumbing Schematics - Drainage System

Default Icon
136 pages
Print Icon
To Next Page IconTo Next Page
To Next Page IconTo Next Page
To Previous Page IconTo Previous Page
To Previous Page IconTo Previous Page
Loading...
12-12
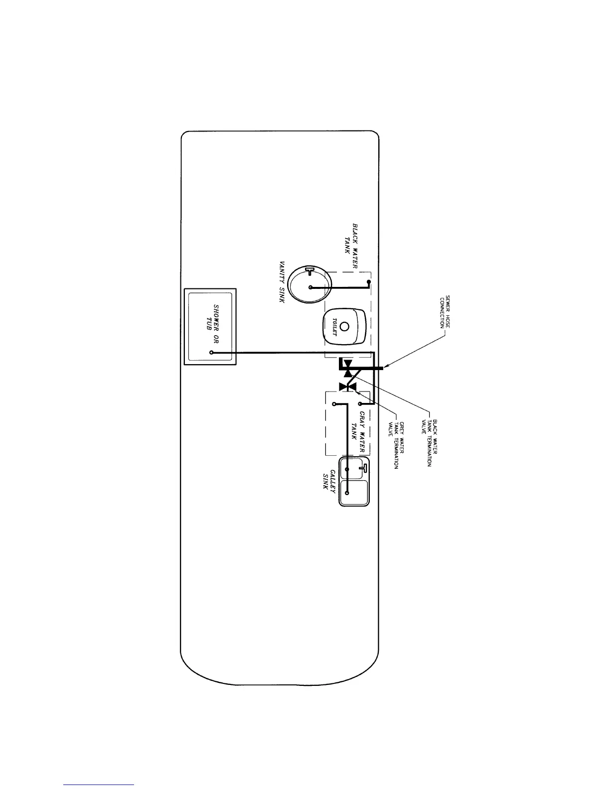
12.4.2 PLUMBING SCHEMATICS (TYPICAL) DRAINAGE SYSTEM
COMMANDER / EMBASSY
12-12
12.4.2 PLUMBING SCHEMATICS (TYPICAL) DRAINAGE SYSTEM
COMMANDER / EMBASSY

Table of Contents

Related product manuals