EasyManua.ls Logo

Tripp Lite SmartRack SRW12US - Alternate Mounting

Tripp Lite SmartRack SRW12US
32 pages
Print Icon
To Next Page IconTo Next Page
To Next Page IconTo Next Page
To Previous Page IconTo Previous Page
To Previous Page IconTo Previous Page
Loading...
7
7. Equipment Installation
(
continued
)
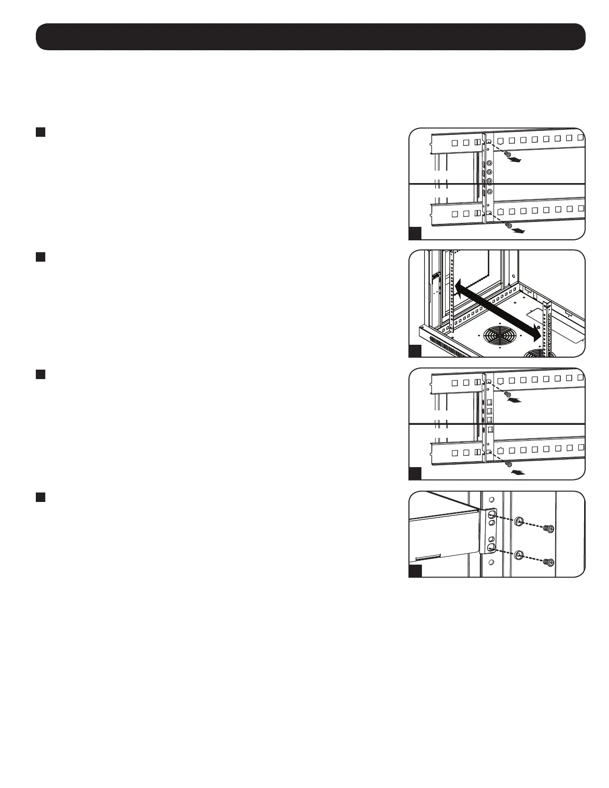
7.2 Alternate Mounting: Tapped Hole Mounting Rail
WARNING: Do not attempt to adjust rails while equipment is installed in the enclosure. Do not attempt to use rails without screws
installed. (2 per rail.)
The 2 mounting rails are pre-installed for securing equipment using the square hole side of the mounting rail. To switch to the tapped hole side of the
mounting rail, follow the steps below:
1
Each rail is connected to the enclosure with 2 screws: 1 in the upper corner and another in the
lower corner. Using a Phillips-head screwdriver, remove the screws that fasten the rails to the
enclosure.
2
Switch the rail locations. Ensure the tapped hole side of each rail is facing the front door.
3
Reattach the mounting rails.
4
Use the included silver mounting screws to secure your equipment to the rack rail. Place the
cup washers between the screws and the equipment mounting brackets.
Note: Your equipment may also include mounting hardware. Read the mounting instructions that came
with your equipment before installing your equipment.
1
3
Upper Rail
Upper Rail
Lower Rail
Lower Rail
2
2
4

Table of Contents

Other manuals for Tripp Lite SmartRack SRW12US

Related product manuals