EasyManua.ls Logo

Triumph Rocket 3 GT 2021 - Page 423

Triumph Rocket 3 GT 2021
1556 pages
Print Icon
To Next Page IconTo Next Page
To Next Page IconTo Next Page
To Previous Page IconTo Previous Page
To Previous Page IconTo Previous Page
Loading...
395
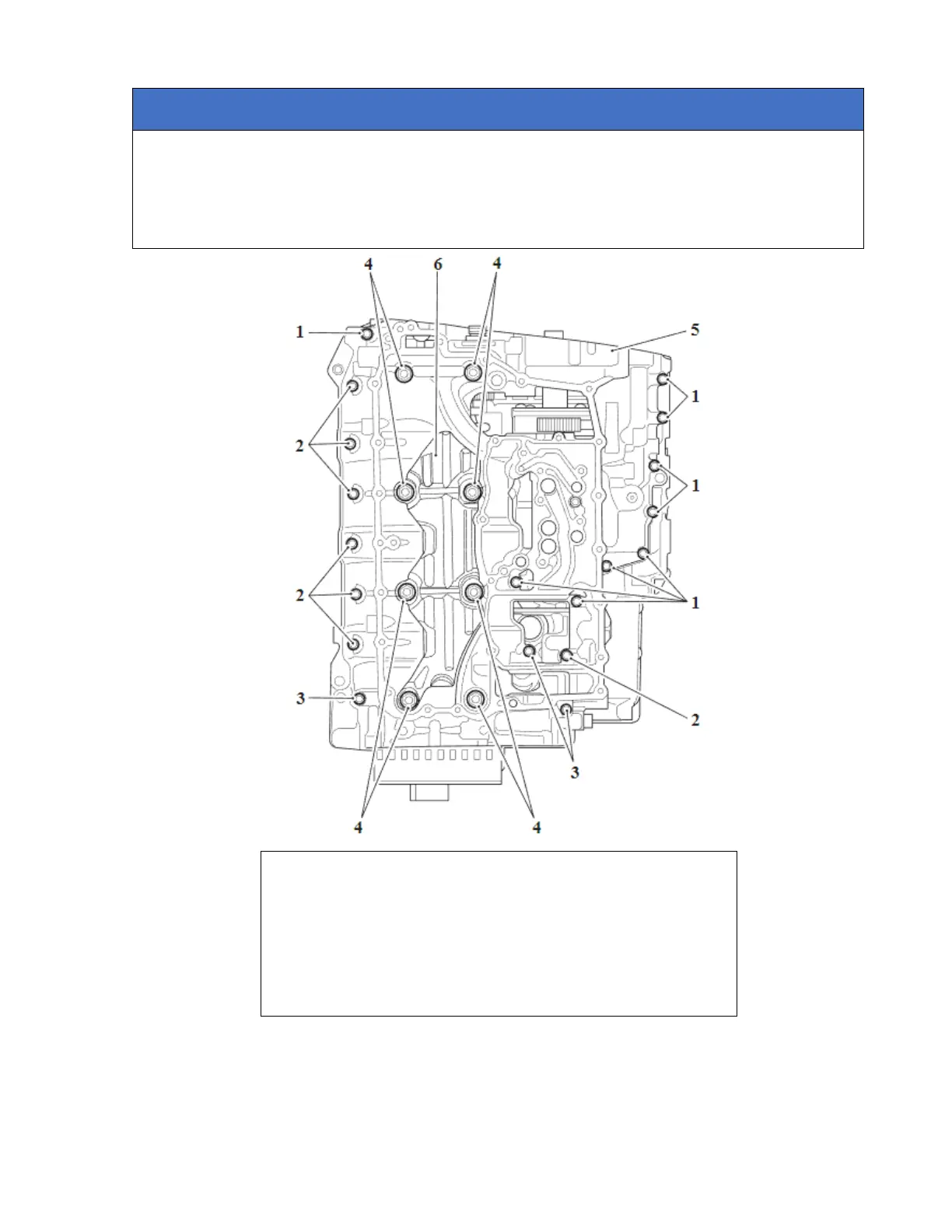
NOTICE
For the lower crankcase there are, eight M11 x 128 mm, nine M6 x 30 mm, seven M6 x
55 mm and three M6 x 75 mm fixings.
Note the position of the fixings for installation.
Note the orientation of the crankshaft scraper for installation.
1. M6 x 30 mm fixings
2. M6 x 55 mm fixings
3. M6 x 75 mm fixings
4. M11 x 128 mm fixings
5. Lower crankcase
6. Crankshaft scraper

Related product manuals