EasyManua.ls Logo

Triumph TR3 - Page 200

Triumph TR3
422 pages
Print Icon
To Next Page IconTo Next Page
To Next Page IconTo Next Page
To Previous Page IconTo Previous Page
To Previous Page IconTo Previous Page
Loading...
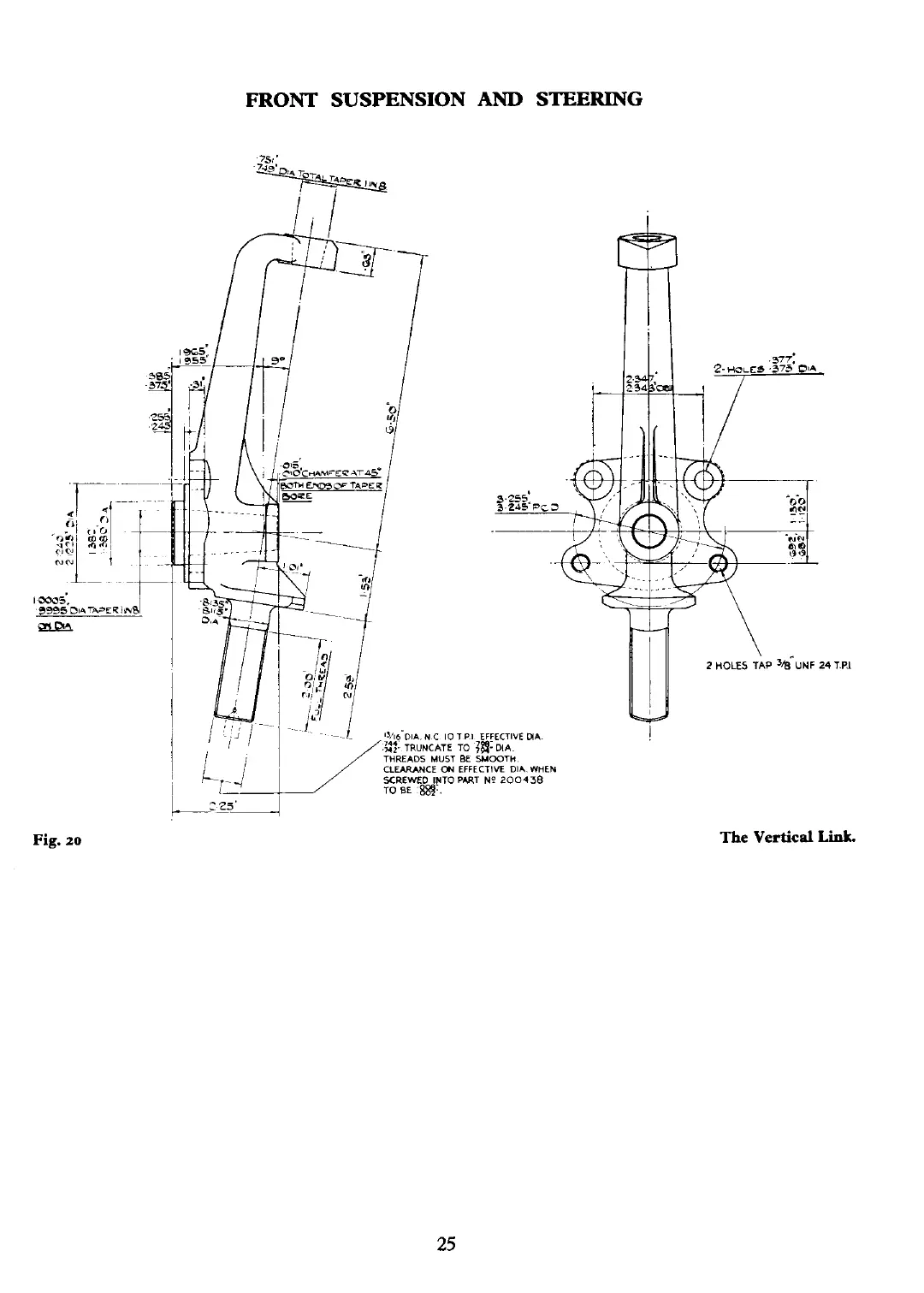
Fig.
20
FRONT SUSPENSION
AND
STEERING
The
Vertical
Link.

Other manuals for Triumph TR3

Related product manuals