EasyManua.ls Logo

Tronsmart Trip - Page 23

Tronsmart Trip
38 pages
Print Icon
To Next Page IconTo Next Page
To Next Page IconTo Next Page
To Previous Page IconTo Previous Page
To Previous Page IconTo Previous Page
Loading...
8
2
3
4
5
6
7
1
Français
Nous vous remercions d'avoir acheté le Haut-parleur extérieur portable Tronsmart
Trip. Veuillez lire le manuel d'utilisation avant de l'utiliser et gardez le à portée de
main pour toute référence ultérieure. Si vous avez des questions ou des
commentaires supplémentaires, veuillez nous contacter par e-mail à l'adresse
suivante: support@tronsmart.com
Contenu
1 X Haut-parleur Extérieur Portable Tronsmart Trip
1 X Câble Audio 3,5 mm
1 X Câble de Chargement Type-C
1 X Carte de Garantie
1 X Manuel d'utilisation
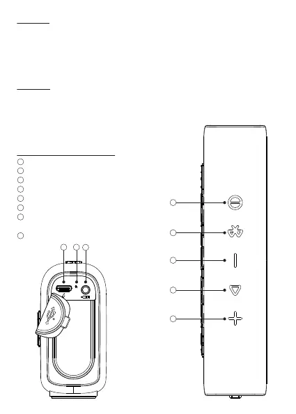
Configuration du Bouton
Allumer/Éteindre
Bouton Bluetooth
Volume-/Piste Précédente
Lecture / Pause
Volume+/ Piste Suivante
Port de Charge de Type C
Indicateur Bluetooth/
Véritable Indicateur Stéréo Sans Fil
Aux au Port
1
2
3
4
5
6
7
8
21

Related product manuals