EasyManua.ls Logo

Tronsmart Trip - Page 33

Tronsmart Trip
38 pages
Print Icon
To Next Page IconTo Next Page
To Next Page IconTo Next Page
To Previous Page IconTo Previous Page
To Previous Page IconTo Previous Page
Loading...
8
2
3
4
5
6
7
1
日本語
この度はTronsmartTripポータブル屋外スピーカーをお買い上げいただき、誠にありが
とうございます。こちらの取扱説明書をよくお読みのうえ、正しくお使いください。
お読みになったあとは、大切に保管し、必要なときにお読みください。もしご不明な
点やご意見がございましたら、support@tronsmart.comまでメールにてお問い合わせ
くださいませ。
ッケ
1xTronsmartTripポータブル屋外スピーカー
1x3.5mmオーディオケーブル
1xType-C充電ケーブル
1x保証カード
1xユーザーマニュアル
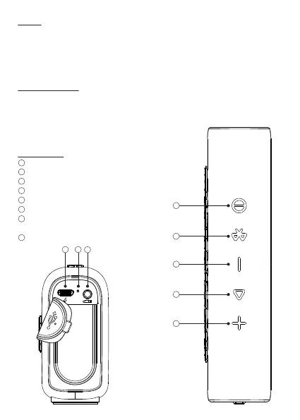
タン
電源を入れる/切る
Bluetoothボタン
音量-/前の曲
再生/一時停止
音量+/次の曲
Type-C充電ポート
Bluetoothインジケーター/
真のワイヤレスステレオインジケーター
オーディオケーブルアクセスポート
1
2
3
4
5
6
7
8
31

Related product manuals