EasyManua.ls Logo

Trueview 7365 - Video Door Phone Villa Set Configuration

Trueview 7365
7 pages
Print Icon
To Next Page IconTo Next Page
To Next Page IconTo Next Page
To Previous Page IconTo Previous Page
To Previous Page IconTo Previous Page
Loading...
Model 7365
Video Door Phone Villa Set
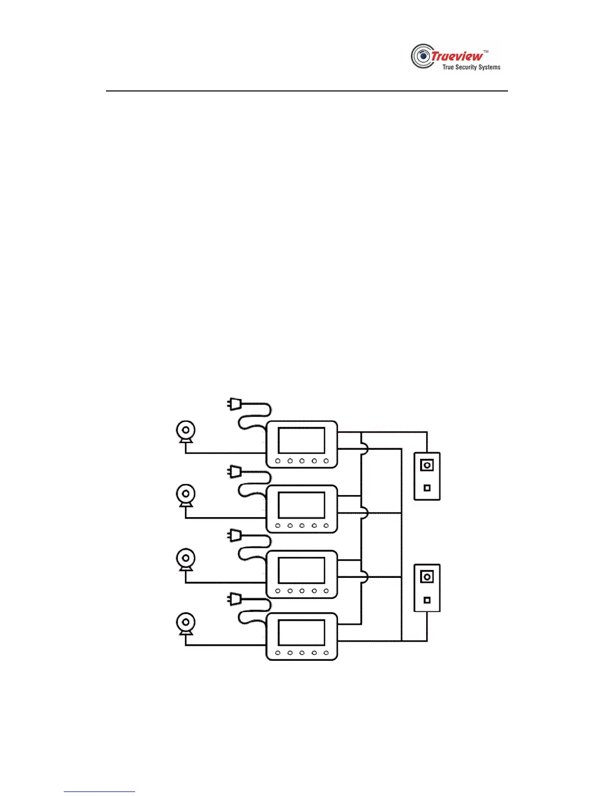
This system supports at most 2 outdoor panels and 4 Indoor
monitors.
Users may determine how many outdoor panels and indoor
monitors to be installed as their requirement.
Every indoor monitor has an access for an extra video
input.