EasyManua.ls Logo

Trumeter 7931 - Caractéristiques; Face Avant

Trumeter 7931
40 pages
Print Icon
To Next Page IconTo Next Page
To Next Page IconTo Next Page
To Previous Page IconTo Previous Page
To Previous Page IconTo Previous Page
Loading...
Les touches en face avant permettent de configurer le compteur, d'afficher et de programmer la
présélection P1. Tous ces boutons peuvent être invalidés par l'entrée Inhibition du clavier. (voir
Programmation
page 18).
Présélection P1
La présélection P1 peut être réglée à tout moment. La valeur minimum possible est 000001. P1
doit être supérieure à la valeur du coefficient multiplicateur, faute de quoi le compteur serait
susceptible de ne pas fonctionner correctement.
Appuyer sur SEL, puis utiliser les touches « chiffre » pour modifier P1. L'affichage va clignoter.
Appuyer de nouveau sur SEL pour accepter la nouvelle valeur.
Si vous n'appuyez pas sur la
touche SEL dans un délai de 30 secondes après la dernière modification, la valeur initiale
restera effective. Si Reset est sur le mode Zéro, la
modification sera immédiatement prise en compte. Si Reset est sur le mode P1, la
modification ne sera prise en compte qu'après une remise à zéro.
14
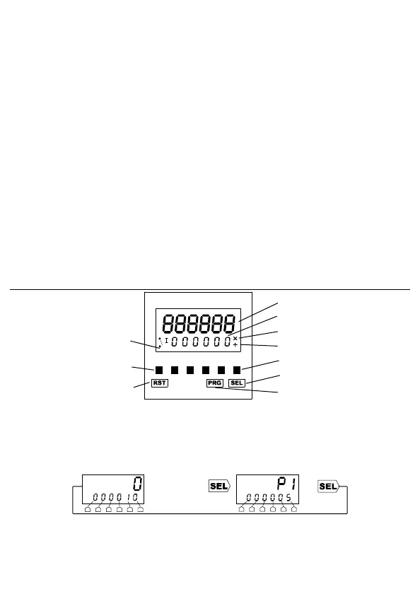
Face avant
affichage de la valeur de comptage
Affichage de la présélection P1
Chiffre 1
Coefficient Diviseur
Sélection
Programme
Remise à zéro
État Relais
(affichant l'état du contact
normalement ouvert)
Chiffre 6
Caractéristiques
Affichage
LCD , STN noir sur fond vert, avec
Rétroéclairage LED jaune / vert
Mémoire
Cycles effacer/écrire : 1,000,000
Durée : 40 années minimum
Plage de comptage
0 à 999999
Facteurs d'échelle
Multiplicateur : 0.00250 à 9.99999
Diviseur : 1 à 99999
Base de temps (voir page 19)
Précision ± 0.3%
Entrées (voir Entrées)
Vitesse rapide : 10kHz max (électronique)
Cycle d'utilisation : 60.40 max
Vitesse basse: 30Hz max (fermeture de contact)
Temps de réponse de la remise à zéro externe
2ms maximum
Pouvoir de coupure
Valeurs UL
CA 250 Vmax, CC 125 V max
250 VCA 1/6 HP max
30VCC 5A max
Valeurs générales
AC 1250VA max 300VCA max
250Vca (cosø=1) : 5A max
250Vca (cosø=0.4) : 3A max
CC 150W max 220V CC max
30Vcc : 5A max
Charge résistive 5A 100,000 opérations
Charge résistive 2A 1,000,000 opérations
Temps de réaction : <2ms
Alimentation (voir Raccordements)
94 à 240 V CA ± 10 % 50/60Hz
Evaluation VA 3 VA
ou 12 à 24 VCC ± 10%
Courant commun 100 mA CC (max)
Catégorie d'installation (IEC 664)
Catégorie surtension II
(niveau de pollution II)
Température de fonctionnement
-10°C à +60°C
Température de stockage
-20°C à +70°C
Indice de Protection
IP65 (montage encastré) en utilisant le
joint d'étanchéité fourni (sans cadre de
montage). Si le joint est démonté, il doit
être remplacé par neuf.
Voir page 39 pour les dimensions de découpe
Altitude
Jusqu'à 2000m
Humidité relative
80% max jusqu'à 31°C ; 50% max à 40°C
P1
P1
Compte/
Temps
Coefficient Multiplicateur

Related product manuals