EasyManua.ls Logo

TYM T903 - Page 74

TYM T903
130 pages
Print Icon
To Next Page IconTo Next Page
To Next Page IconTo Next Page
To Previous Page IconTo Previous Page
To Previous Page IconTo Previous Page
Loading...
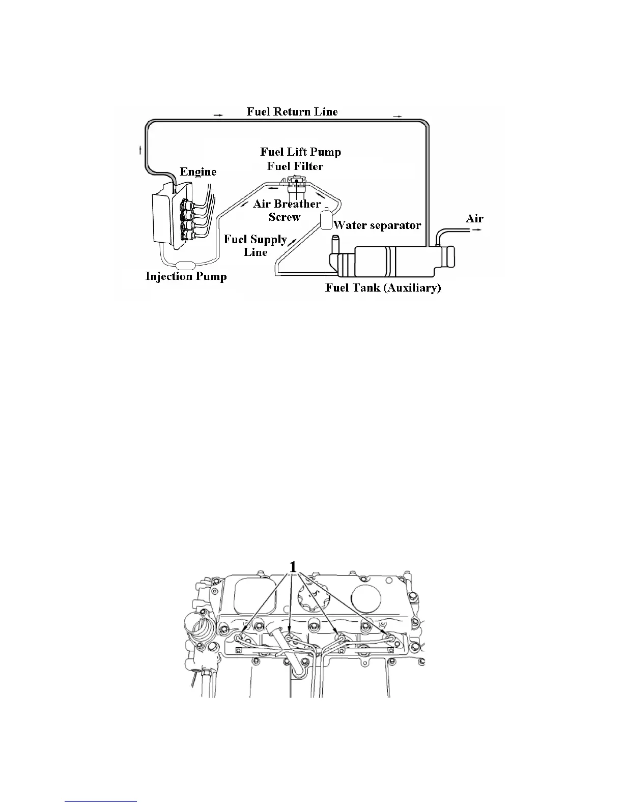
BLEEDING THE FUEL SYSTEM
1) Fill the tank with fuel and turn the ignition key to on.
2) Loosen the air breather screw of the fuel filter two or three turns.
3) When fuel free from air flows (bubbles) from the Air breather screw, tighten the Air breath screw.
4) The bleeding of the system is now finished.
73
Removing method of the air from fuel system
Use the following procedure in order to remove air from the fuel system.
1. Turn the key switch to the ON position. Leave the Key switch in the ON position for 3 seconds.
2. Turn the key switch to the OFF position.
3. Loose the flare nuts (1) for the high pressure fuel lines on all of the fuel injection.
4. Do not crank the engine continuously for more than 30 seconds.
5. Tighten the flare nuts.

Related product manuals