EasyManua.ls Logo

Universal Space Super Big Rig - Page 27

Universal Space Super Big Rig
41 pages
Print Icon
To Next Page IconTo Next Page
To Next Page IconTo Next Page
To Previous Page IconTo Previous Page
To Previous Page IconTo Previous Page
Loading...
Super big rig Manual Rev.1.0
26
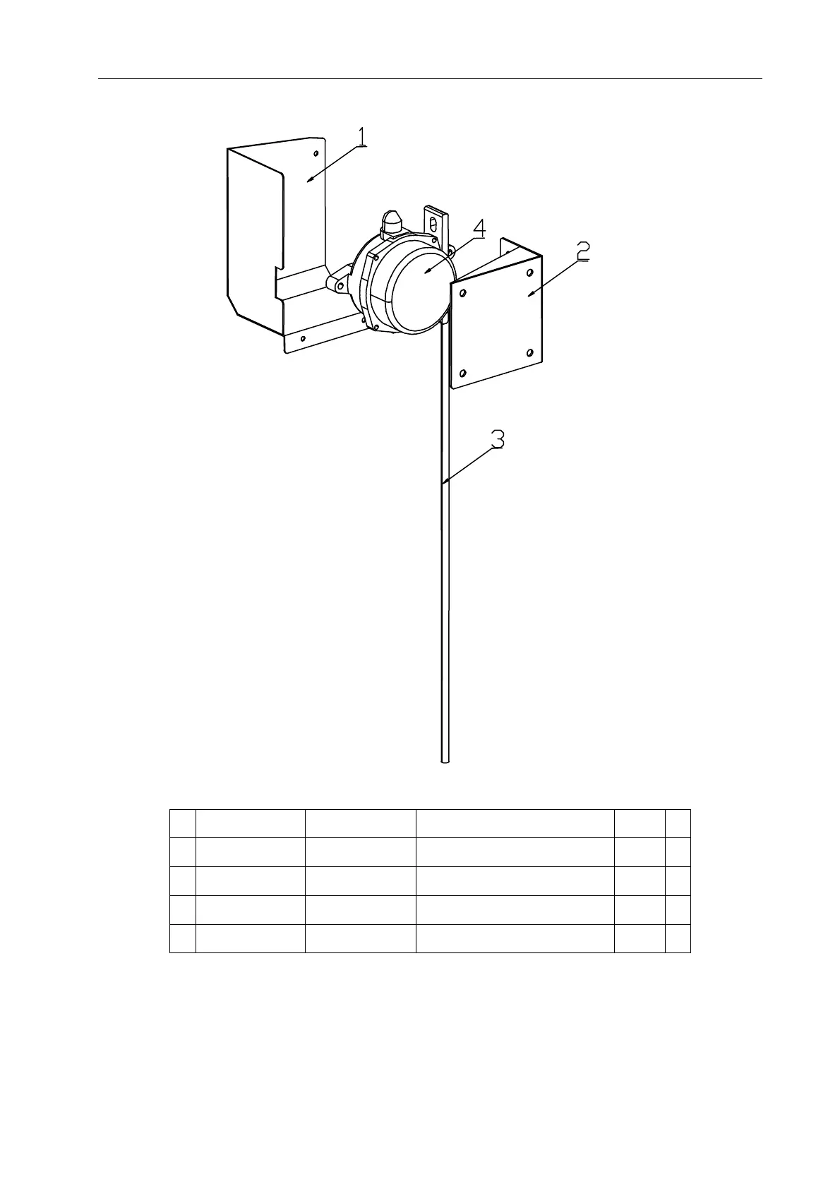
9.4 Pull-cord Switch Assy.
No.
Part No. Code Name Spec. Qty
1 S127-129-000
20251408028
Pull-cord SW cover
Q235
1
2 S127-130-000
20251408029
Pull-cord SW fixed plate
Q235
1
3 S127-188-000
20251408089
Tassel rope
yellow
1
4 S127-436-000
22606040001
Dual-direction pull-cord SW
FHKT2
1

Related product manuals