EasyManua.ls Logo

usi MCN400 - Recommended Location of Alarms; Avoid These Locations

Default Icon
12 pages
Print Icon
To Next Page IconTo Next Page
To Next Page IconTo Next Page
To Previous Page IconTo Previous Page
To Previous Page IconTo Previous Page
Loading...
Page 4
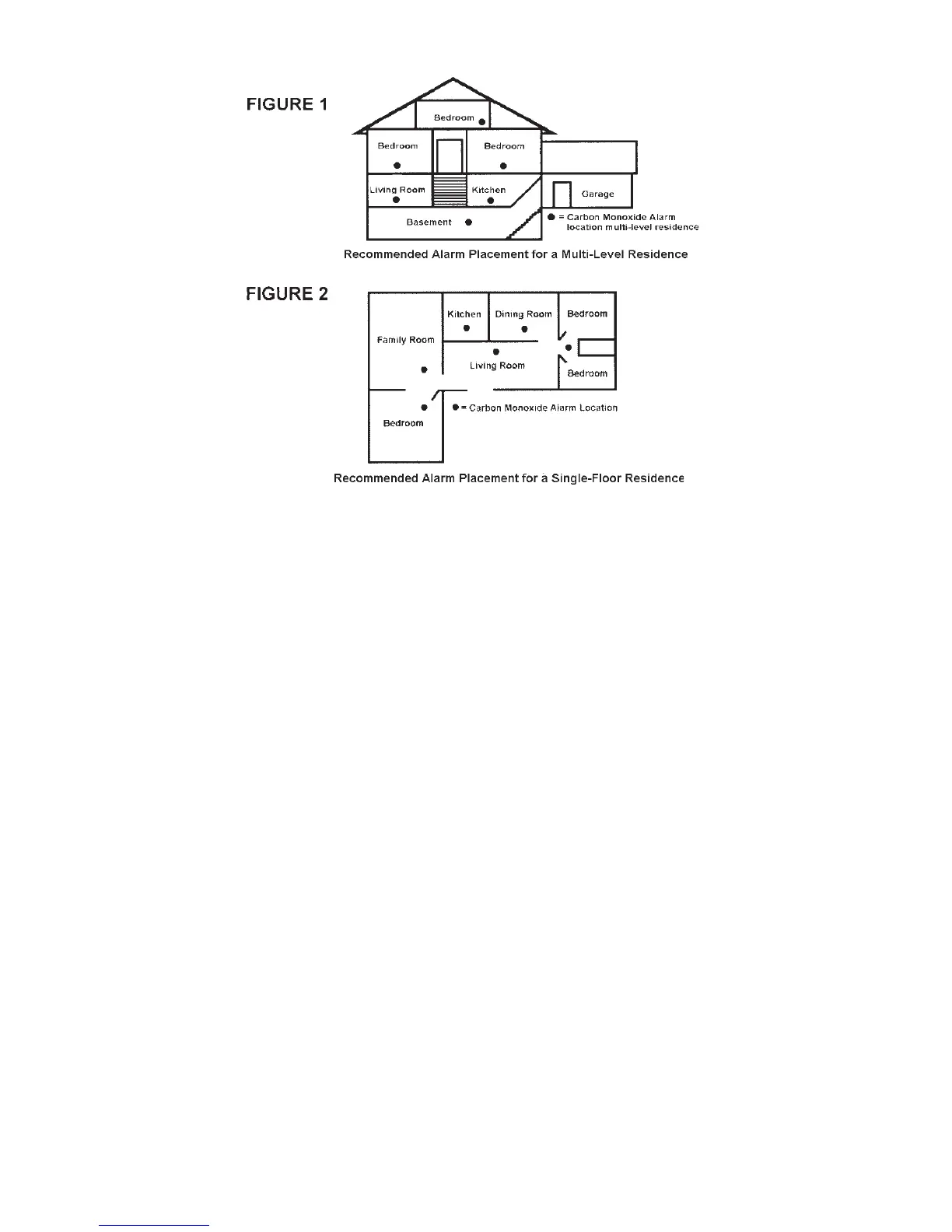
RECOMMENDED PLACEMENT:
NOTE: For any location, make sure no door or other obstruction could prevent the carbon monoxide
or gas from reaching the alarm.
WHERE THIS ALARM SHOULD NOT BE INSTALLED
To avoid causing damage to the unit, to provide optimum protection, and to prevent
unnecessary alarms. Do NOT locate this alarm:
In garages, kitchens, crawl spaces and unfinished attics. Avoid extremely dusty, dirty or greasy
areas. Installation in these areas could lead to nuisance alarms, may expose the sensor to
substances which could damage or contaminate it, or the alarm may not be heard by people in
other areas of the home, especially if they are sleeping.
In the garage, vehicle exhaust can contain some carbon monoxide. These levels are higher when
the engine is first started. Within hours of starting a vehicle and backing it out of the garage, the
levels present over time can activate the alarm and become a nuisance.
In the kitchen, some gas appliances can emit a short burst of CO or gas upon startup. This is
normal. If your CO and Gas Alarm is installed too close to these appliances, it may alarm often
and become a nuisance.
Keep alarms at least 20 feet (6m) from the sources or combustion particles (stove, furnace,
water heater, space heater), if possible. In areas where a 20 foot (6m) distance is not possible
(in modular, mobile or smaller homes for example), it is recommended the alarm be placed as far
from these fuel-burning sources as possible. The placement recommendations are intended to
keep these alarms at a reasonable distance from a fuel-burning source and reduce "unwanted"
alarms. Unwanted alarms can occur if an alarm is placed directly next to a fuel-burning source.
Ventilate these areas as much as possible. If you must install the alarm near a cooking or
heating appliance, install at least 5 feet (1.5m) from appliance.
Curtains or heavy furniture may prevent CO or gas from reaching the sensor.
Less than 12 inches (306mm) away from fluorescent lights. Electrical noise can interfere with
the sensor.
In extremely humid areas. This alarm should be at least 10 feet (3m) from a bath or shower,
sauna, humidifier, vaporizer, dishwasher, laundry room, utility room or other source of high
humidity.
In very cold or very hot environments or in unheated buildings or outdoor rooms where the
temperature can go below or above the operating range of the alarm. Temperature limits for
proper operation are 0
o
to 120
o
F (-18
o
to 49
o
C).
In turbulent air, such as near ceiling fans, heat vents, air conditioners, fresh air returns or open
windows. Blowing air may prevent CO from reaching the sensors.

Related product manuals