EasyManua.ls Logo

UUNI 3 - Place Flame Keeper Inside Unit; Secure Flame Keeper

UUNI 3
48 pages
Print Icon
To Next Page IconTo Next Page
To Next Page IconTo Next Page
To Previous Page IconTo Previous Page
To Previous Page IconTo Previous Page
Loading...
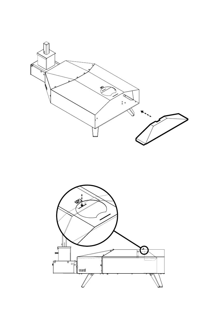
3a. Place the flame keeper inside the main body.
3b. Secure the flame keeper using the slot inside the main
body.
22

Other manuals for UUNI 3

Related product manuals