EasyManua.ls Logo

Vanguard VSGF28NTC - Illustrated Parts Breakdown

Vanguard VSGF28NTC
32 pages
Print Icon
To Next Page IconTo Next Page
To Next Page IconTo Next Page
To Previous Page IconTo Previous Page
To Previous Page IconTo Previous Page
Loading...
24
107157
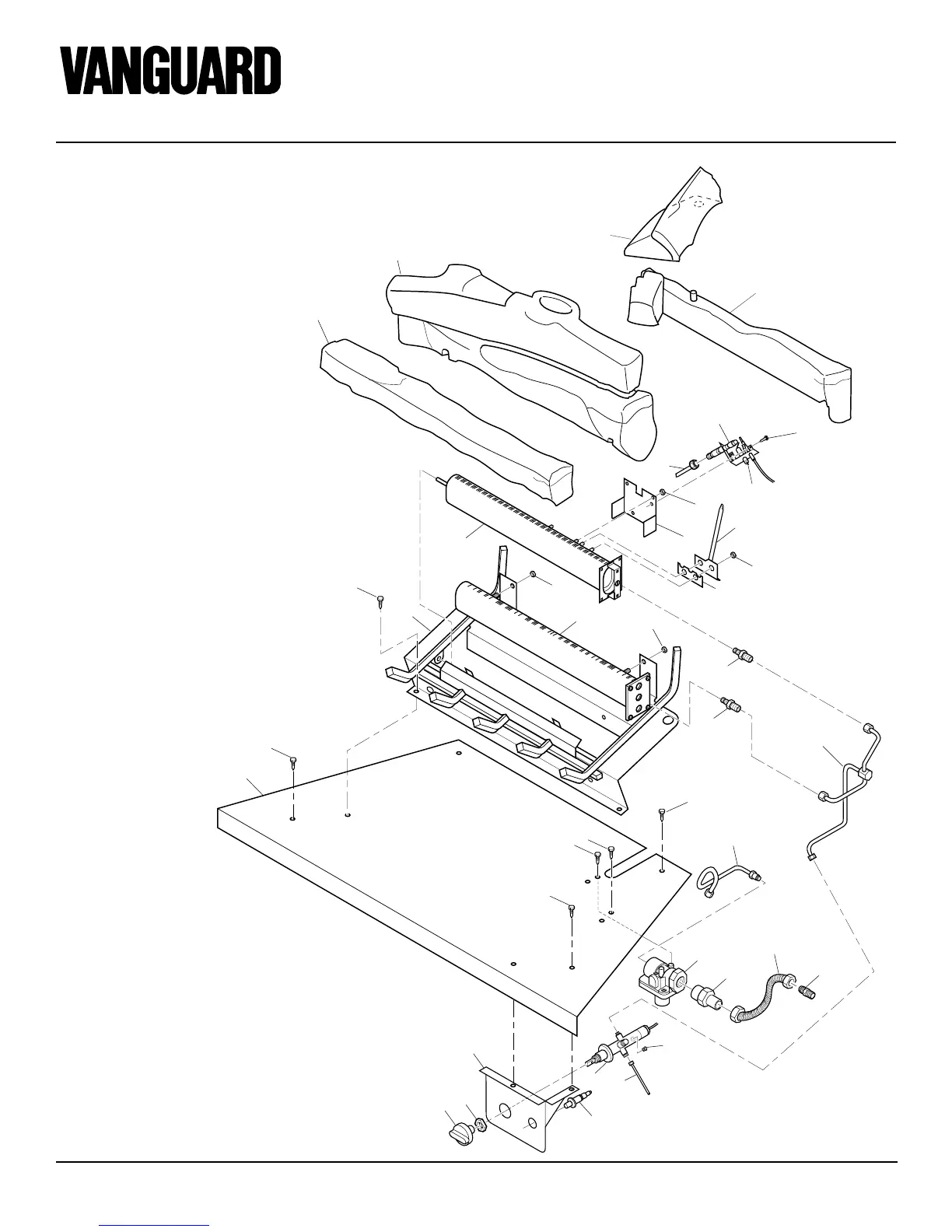
UNVENTED NATURAL GAS FIREPLACE
®
For more information, visit www.desatech.com
26
7
8
7
7
18
6
12
11
7
5
9
17
22
15
10
25
13
5
5
5
5
20
14
18
31
28
23
29
19
27
30
24
16
21
32
1
2
3
4
ILLUSTRATED
PARTS
BREAKDOWN
LOG BASE ASSEMBLY
VARIABLE MANUALLY-
CONTROLLED MODEL
VSGF28NVA

Related product manuals