EasyManua.ls Logo

Vasco Mini 2 - Page 4

Vasco Mini 2
178 pages
Print Icon
To Next Page IconTo Next Page
To Next Page IconTo Next Page
To Previous Page IconTo Previous Page
To Previous Page IconTo Previous Page
Loading...
(Español)
Spanish
English
(United States)
10
6
2
1
3
9
8
4
5
7
11
12
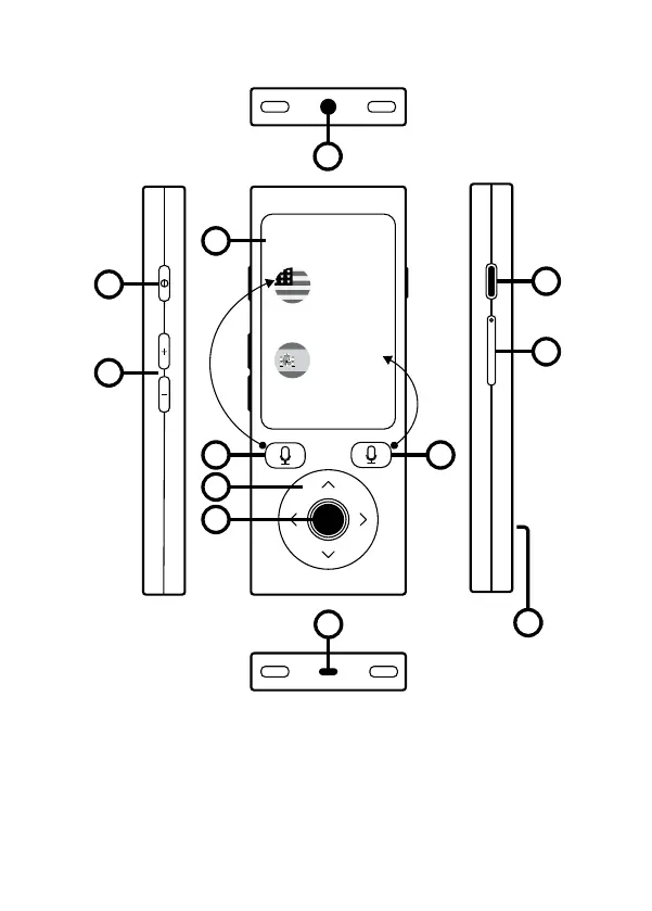
1. Touchscreen
2. Source language
3. Target language
4. Arrows
5. Enter
6. Power ON/OFF
7. Volume Up/Down
8. Back
9. SIM card slot
10. Earphone input
11. Micro USB
12. Loudspeaker

Related product manuals