EasyManua.ls Logo

VIBIA Palma - Page 7

VIBIA Palma
20 pages
Print Icon
To Next Page IconTo Next Page
To Next Page IconTo Next Page
To Previous Page IconTo Previous Page
To Previous Page IconTo Previous Page
Loading...
7/20
EN
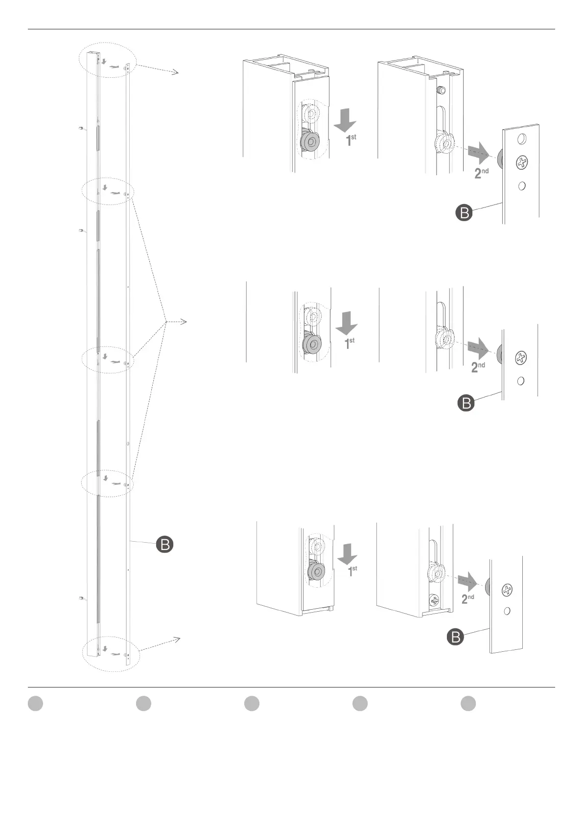
3. Remove the cover plate
(B) from the profile fo-
llowing the movements as
indicated with the arrows.
IT
3. Estrarre la piastra (B) del
profilo seguendo la direzio-
ne indicata dalle frecce.
ES
3. Extraer la pletina (B)
del perfil, siguiendo el
movimiento que indican
las flechas.
FR
3. Désassemblez la plaque
(B) du support métallique
en suivant le mouvement
indiqué par les flèches.
D
3. Entfernen Sie die Platte
(B) vom Profil in Richtung
der Pfeile.
3

Related product manuals