EasyManua.ls Logo

ViewSonic va1616w-8 - Troubleshooting Flow Chart

ViewSonic va1616w-8
72 pages
Print Icon
To Next Page IconTo Next Page
To Next Page IconTo Next Page
To Previous Page IconTo Previous Page
To Previous Page IconTo Previous Page
Loading...
- 43 –
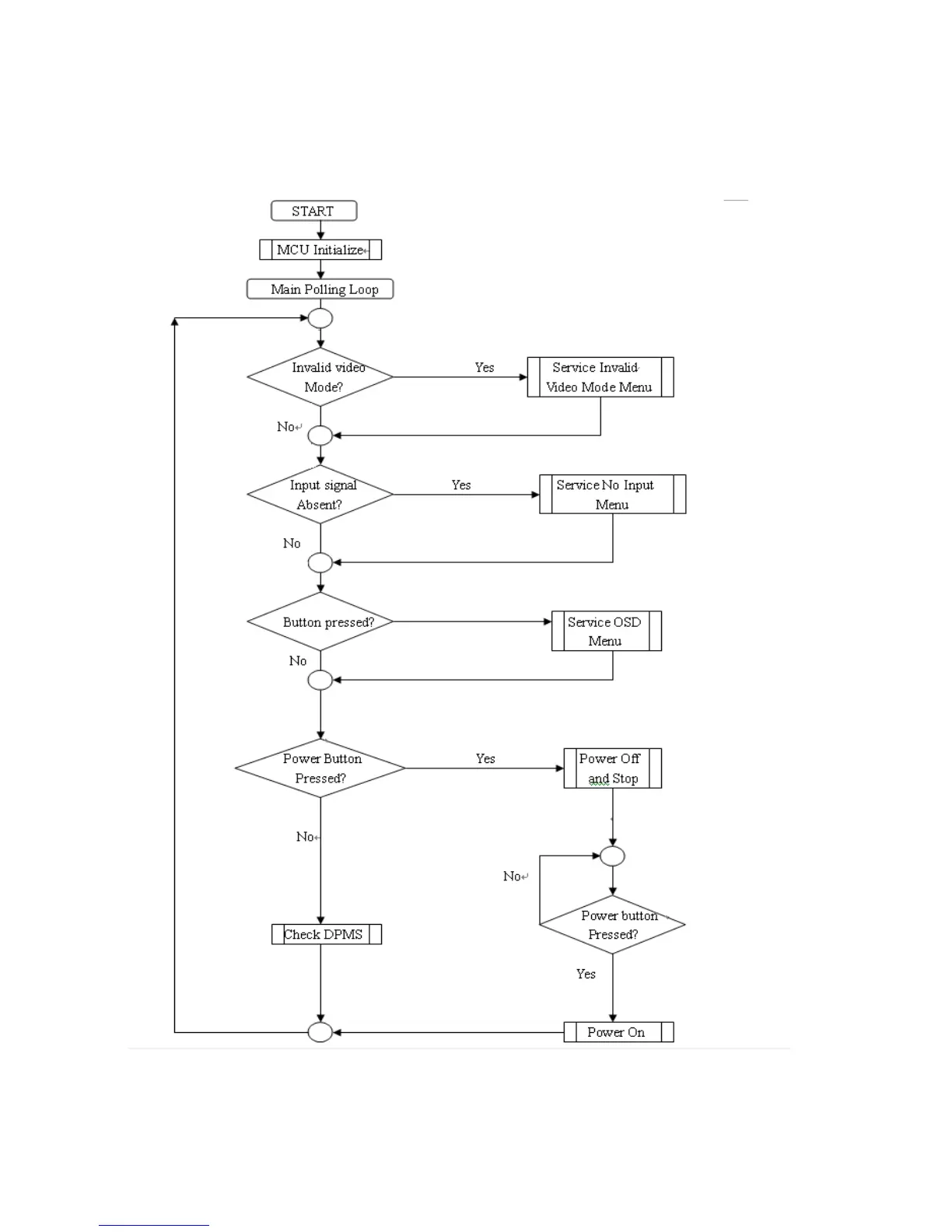
6.Troubleshooting Flow Chart

Related product manuals