EasyManua.ls Logo

Viking Range VIPR102 - Take Measurements

Default Icon
36 pages
Print Icon
To Next Page IconTo Next Page
To Next Page IconTo Next Page
To Previous Page IconTo Previous Page
To Previous Page IconTo Previous Page
Loading...
2
Downdraft VentilatorsVIKING RANGE CORPORATION
AIR
VENT
COUNTER
TOP
BLOWER
BOX
CHIMNEY TOP
COOK TOP
GEAR
MOTOR
COVER
TYPICAL INSTALLATION
120 VAC
GROUNDED
OUTLET
This downdraft blower system is
designed to be used to exhaust
airborne contaminants when
cooking with a variety of gas
or electric cooktops. It can be
mounted in island, peninsula,
or conventional wall locations.
This unit can be easily installed
following these basic steps:
Cut out the countertop
opening.
Mount the unit in the
cabinet.
Install the Model VIDV500
Interior Blower
Connect the ductwork and
electrical.
Install the cooktop.
Note: the high level of air flow
of this appliance may effect the
gas flame on some types of gas
cooktops. This is NORMAL and
will cause no harm, but can be
corrected by lowering the speed
of the blower.
PLANNING
Interior Blower Installation Exterior Blower Installation
Note: the high level of air flow of this appliance may effect the
gas flame on some types of gas cooktops. This is NORMAL and
will cause no harm, but can be corrected by lowering the speed
of the blower.
TYPICAL INSTALLATION
120 VAC
GROUNDED
OUTLET
AIR
VENT
GEARMOTOR
COVER
This downdraft blower system
is designed to be used to ex-
haust airborne contaminants
when cooking with a variety
of gas or electric cooktops.
It can be mounted in island,
peninsula, or conventional wall
locations.
This unit can be easily installed
following these basic steps:
Cut out the countertop
opening.
Mount the unit in the
cabinet.
Install 10" round dis-
charge plate
• Install Model VEDV900
or VEDV1200 (48" Model
ONLY) External Blower
Connect the ductwork
and electrical.
Install the cooktop.
COOK TOP
COUNTER TOP
CHIMNEY TOP
10" ROUND
DISCHARGE
PLATE
10" ROUND DUCTWORK
ELECTRICAL
SPECIFICATIONS
120 VAC • 60 Hz • 4.0 A
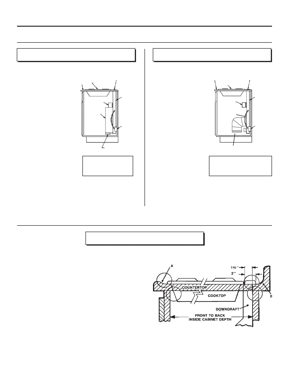
TAKE MEASUREMENTS
All Units
1. Refer to the cooktop installation instructions for dimensions
of cooktop, countertop cut-out, and cabinet requirements.
The Models VIPR102SS and VIPR102RSS will fit in most
30" wide cabinets the Models VIPR162SS and VIPR162RSS
will fit in most 36" wide cabinets and the Models VIPR182SS
and VIPR182RSS will fit most 48" wide cabinets. However, it
is recommended that oversized cabinets be used for easier
installation.
2. Cooktop depth can vary greatly from one to another. This may
cause the fit of these two appliances to be rather tight.
Pay special attention to the areas of potential interference high-
lighted above. A countertop with (A) a raised lip and/or (B) a
backsplash may not allow enough flat countertop for a proper
installation. Note that 2" of flat countertop is required behind
cooktop and that 1-3/4" is necessary between the back edge of
the cooktop and the inside of cabinet back.
ELECTRICAL
SPECIFICATIONS
120 VAC • 60 Hz • 6.0 A (max.)
3-1/4" X 10"
DUCT CONNECTOR

Related product manuals