EasyManua.ls Logo

Viking VCCI3608 - Page 14

Viking VCCI3608
20 pages
Print Icon
To Next Page IconTo Next Page
To Next Page IconTo Next Page
To Previous Page IconTo Previous Page
To Previous Page IconTo Previous Page
Loading...
14
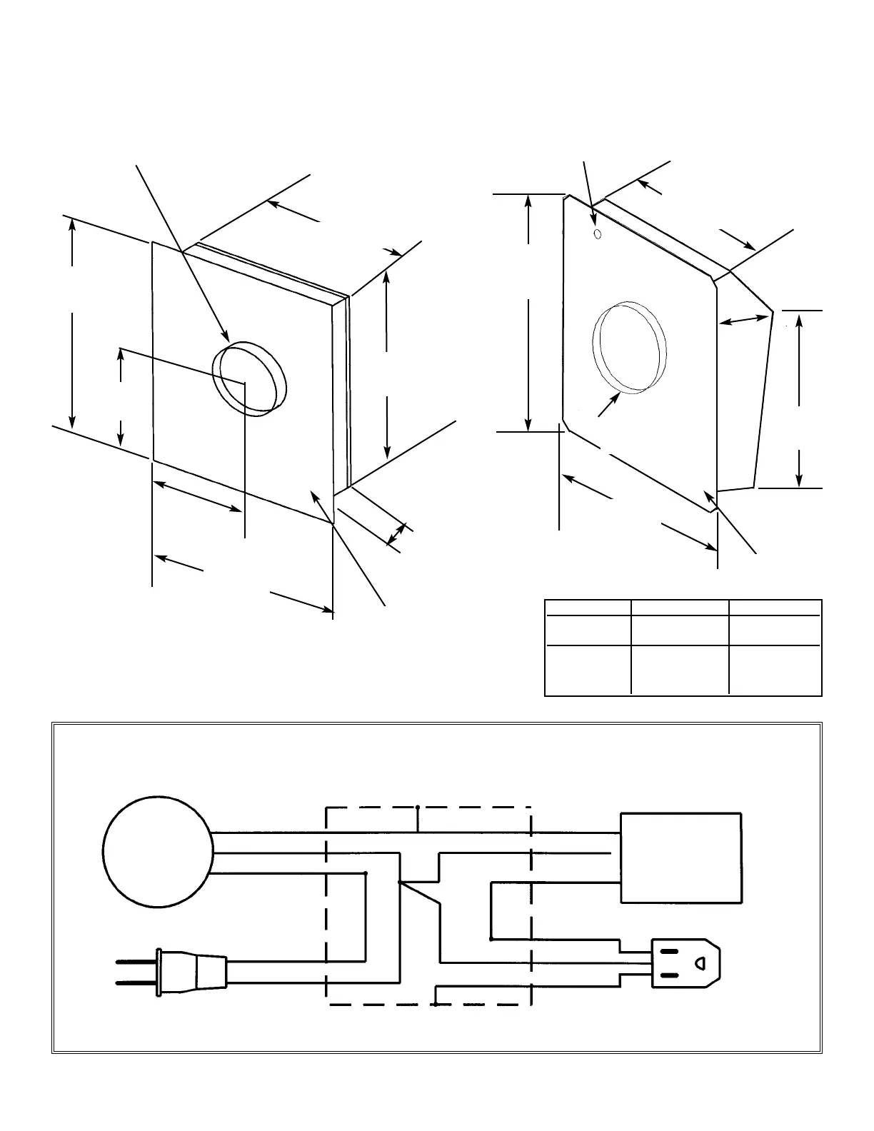
WIRING DIAGRAM
EXTERIOR VENTILATOR
EXTERIOR VENTILATOR DIMENSIONS
10” (25.4 cm) diameter
20 3/4” (52.7 cm)
24 1/2”
(62.2 cm)
4 3/4”
(12.1 cm)
14”
(35.6 cm)
24 3/4”
(62.9 cm)
15 1/2”
(39.4 cm)
28 1/4”
(71.8 cm)
DEV900
EXTERIOR
BLOWER
LINE IN
120 VAC/60 Hz
15 AMP MAX.
WIRING BOX
GREEN
BLAC,
WHITE
WHITE
BLACK
GREEN
GREEN
WHITE
WHITE
BLACK
BLACK
DEV1200
DEV1500
22 1/8”
(56.2 cm)
B
10 1/8”
(25.7 cm)
A
29 1/2”
(74.9 cm)
10” (25.4 cm)
diameter
Opening for wiring
Flashing
Flashing
AA BB
DDEEVV11220000 1188 2222
((4455..77 ccmm)) ((5555..99 ccmm))
DDEEVV11550000 2211 2255
((5533..33 ccmm)) ((6633..55 ccmm))

Related product manuals