EasyManua.ls Logo

Viking VIPR101 - Planning and Measurements; Interior Blower Installation; Exterior Blower Installation

Viking VIPR101
24 pages
Print Icon
To Next Page IconTo Next Page
To Next Page IconTo Next Page
To Previous Page IconTo Previous Page
To Previous Page IconTo Previous Page
Loading...
2
Downdraft VentilatorsVIKING RANGE CORPORATION
AIR
VENT
COUNTER
TOP
BLOWER
BOX
CHIMNEYTOP
COOK TOP
GEAR
MOTOR
COVER
TYPICAL INSTALLATION
120 VAC
GROUNDED
OUTLET
This downdraft blower system is
designedtobeusedtoexhaust
airborne contaminants when
cooking with a variety of gas
or electric cooktops. It can be
mounted in island, peninsula, or
conventional wall locations.
This unit can be easily installed
followingthesebasicsteps:
Cut out the countertop opening.
Mount the unit in the cabinet.
Install the Model VIDV500
Interior Blower
Connect the ductwork and
electrical.
Install the cooktop.
Note: thehighlevelofairow
of this appliance may effect the
gasameonsometypesofgas
cooktops. This is NORMAL and
will cause no harm, but can be
corrected by lowering the speed
of the blower.
PLANNING
Interior Blower Installation Exterior Blower Installation
Note: thehighlevelofairowofthisappliancemayeffectthegas
ameonsometypesofgascooktops.ThisisNORMALandwillcause
no harm, but can be corrected by lowering the speed of the blower.
TYPICAL INSTALLATION
120 VAC
GROUNDED
OUTLET
AIR
VENT
GEARMOTOR
COVER
This downdraft blower system is
designedtobeusedtoexhaust
airborne contaminants when
cooking with a variety of gas
or electric cooktops. It can be
mounted in island, peninsula, or
conventional wall locations.
This unit can be easily installed
followingthesebasicsteps:
Cut out the countertop open-
ing.
Mount the unit in the cabinet.
•Install 10" round discharge
plate
Install Model VEDV900 or
VEDV1200 (48" Model
ONLY)ExternalBlower
Connect the ductwork and
electrical.
Install the cooktop.
COOK TOP
COUNTER TOP
CHIMNEYTOP
10" ROUND
DISCHARGE
PLATE
10" ROUND DUCTWORK
ELECTRICAL
SPECIFICATIONS
120 VAC • 60 Hz • 4.0 A
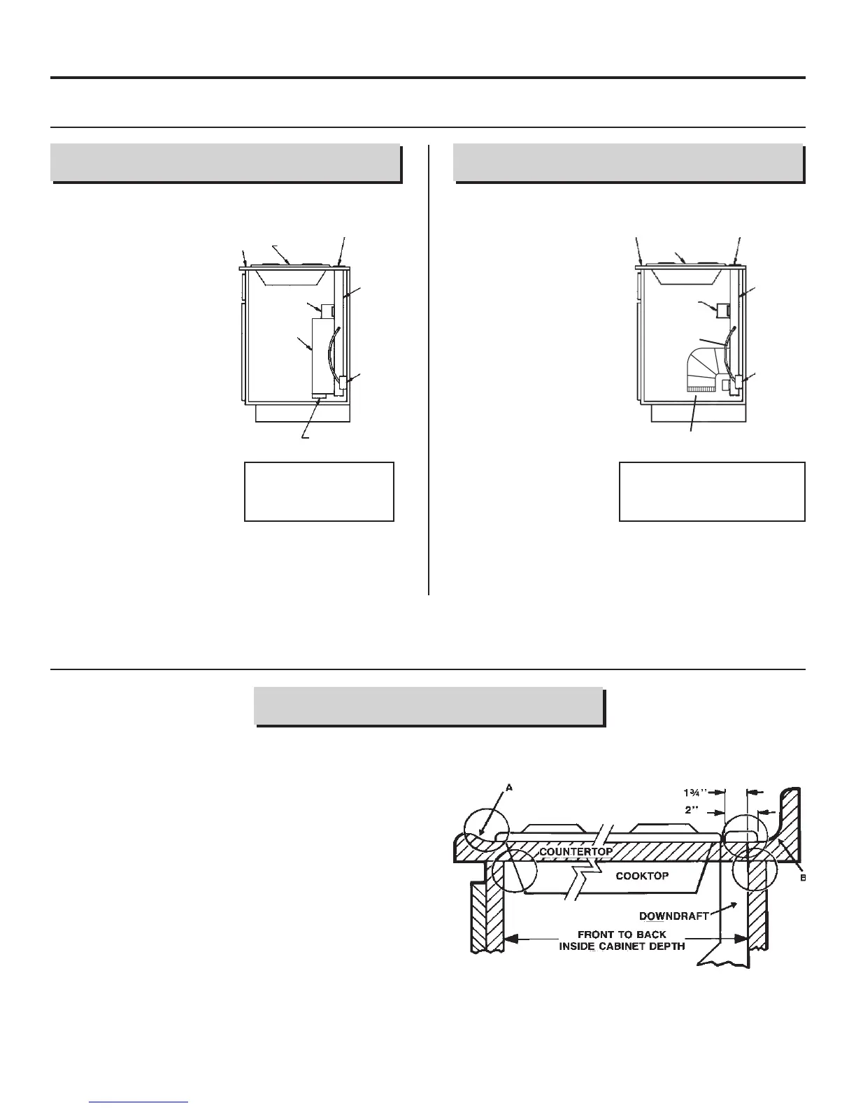
TAKE MEASUREMENTS
All Units
1. Refer to the cooktop installation instructions for dimensions of
cooktop,countertopcut-out,andcabinetrequirements.The
ModelsVIPR101SSandVIPR101RSSwilltinmost30"wide
cabinetstheModelsVIPR161SSandVIPR161RSSwilltinmost
36" wide cabinets and the Models VIPR181SS and VIPR181RSS
willtmost48"widecabinets.However,itisrecommendedthat
oversized cabinets be used for easier installation.
2. Cooktop depth can vary greatly from one to another. This may
causethetofthesetwoappliancestoberathertight.
Pay special attention to the areas of potential interference highlighted
above. A countertop with (A) a raised lip and/or (B) a backsplash
maynotallowenoughatcountertopforaproperinstallation.Note
that2"ofatcountertopisrequiredbehindcooktopandthat1-3/4"
is necessary between the back edge of the cooktop and the inside
of cabinet back.
ELECTRICAL
SPECIFICATIONS
120 VAC • 60 Hz • 6.0 A (max.)
3-1/4"X10"
DUCT CONNECTOR

Related product manuals