EasyManua.ls Logo

Viscount Cantorum Dou - Page 126

Viscount Cantorum Dou
Print Icon
To Next Page IconTo Next Page
To Next Page IconTo Next Page
To Previous Page IconTo Previous Page
To Previous Page IconTo Previous Page
Loading...
FR - 16
Mode d’Emploi
d'informations consulter le par. 10.6) transmis par un appareil externe tel qu'un lecteur de séquence
MIDI, sur la porte [MIDI OUT] est transmis le contenu ( registres, les unions et les tremolos) de
cette combinaison.
Celle-ci est le seul mode à utiliser si le Cantorum Duo est connecté à l’interface digitale pour les
orgues à tuyaux VPI (Viscount Pipe Interface), afin d'assurer la parfaite compatibilité entre les
deux instruments.
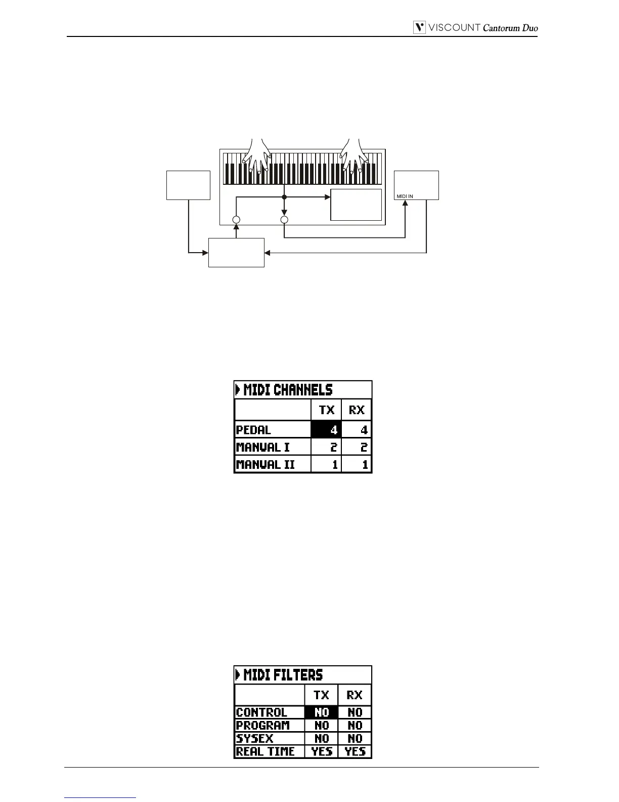
SELECTION DES CANAUX DE TRANSMISSION ET DE RECEPTION
(fonction Tx AND Rx CHANNEL)
L'orgue peut transmettre des messages MIDI sur un seul canal ou deux simultanément. La réception est
sur un seul canal. Pour régler les canaux MIDI sélectionner le champ CHANNELS dans le menu MIDI;
vous verrez l'écran suivant:
dans la colonne TX et le canal de réception dans la colonne RX. Le mode OFF désactive l’échange de
messages MIDI par l’orgue dans cette section particulière.
Appuyer sur [EXIT] pour quitter la page-écran et mémoriser les réglages effectués.
REGLAGES DES FILTRES (fonction MIDI FILTERS)
Un filtre MIDI est une fonction particulière qui permet de bloquer, en transmission et/ou réception, un
message particulier sur tous les canaux MIDI (en cas de message canalisé). Le filtre en transmission pour
les Control Change, par exemple, permet de ne pas transmettre ces messages MIDI au moyen du port
[MIDI OUT] sur tous les canaux MIDI gérés par l’orgue. De la même façon, le filtre en réception bloque
sur tous les canaux les CC (qui ne sont donc pas appliqués) reçus par l’orgue au moyen du port [MIDI
IN]. Pour configurer les filtres MIDI, sélectionner le champ FILTER dans le menu MIDI ; la page-écran
suivante s’affiche :
Sound
generator
[MIDI IN] [MIDI OUT]
Cantorum Duo
VPI
MIDI OUT
MIDI
player
MIDI OUT
MIDI
merger
MIDI OUT
MIDI
IN 2
MIDI
IN 1

Table of Contents

Related product manuals