EasyManua.ls Logo

VOLTCRAFT 4000PRO - Page 30

VOLTCRAFT 4000PRO
Print Icon
To Next Page IconTo Next Page
To Next Page IconTo Next Page
To Previous Page IconTo Previous Page
To Previous Page IconTo Previous Page
Loading...
30
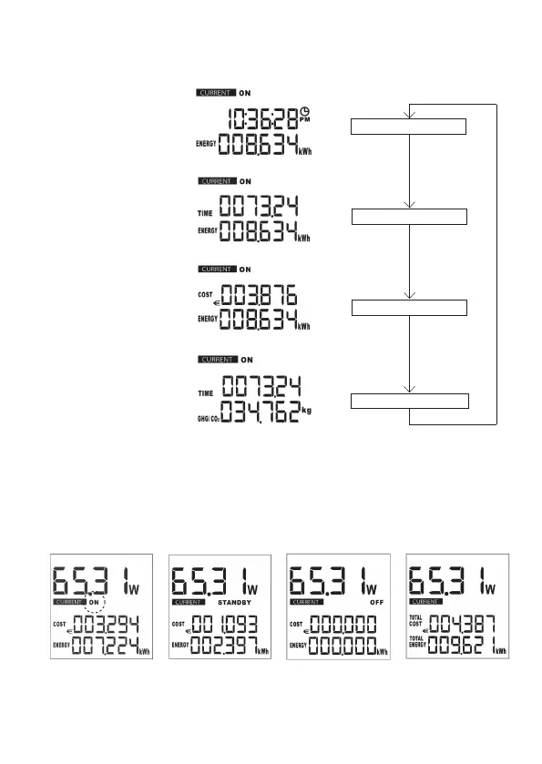
Menu sequence of lower display area (7)
g. 3
Clock, energy (kWh)
Time, energy (kWh)
Time, greenhouse gas
g. 5
g. 4
Costs, energy (kWh)
g. 6
In current mode (CURRENT), use the SET (3) button to select the display function “ON”,
“STANDBY”, “OFF” or no display (total value). If no display function has been selected, the display
will show the total value.
g. 9g. 8
g. 7 g. 10

Related product manuals