EasyManua.ls Logo

Volvo Penta D34A MS - Servicing Oil Filters

Volvo Penta D34A MS
89 pages
Print Icon
To Next Page IconTo Next Page
To Next Page IconTo Next Page
To Previous Page IconTo Previous Page
To Previous Page IconTo Previous Page
Loading...
46
Maintenance: Lubrication system
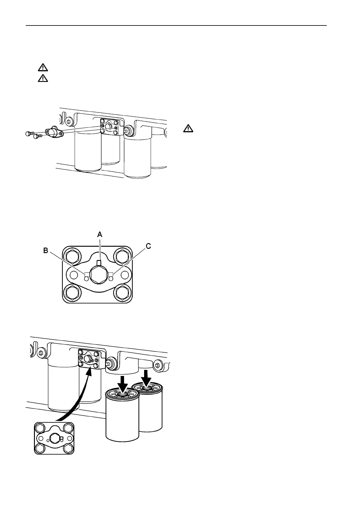
Changing oil filter
Each pair of filters has its own shut off valve located on the housing between the filters. The oil filters can be
changed while the engine is running as the oil flow can be directed through two filters at a time.
WARNING! Always keep all four filters in operation under norlmal operating conditions.
WARNING! Reduce the engine speed to idle when changing oil filters on a running engine.
5. Mount the new filter by hand until the gasket is in
contact with the sealing surface. Then tighten the
filter a further approximately 3/4 of a turn.
6. Put the filter on-line by turning the valve in posi-
tion A.
7. Replace the left filters as above. Position B is the
left filters change position.
8. Replace all four full-flow filters at the same time.
NOTE! After a lubrication oil filter change, open the fil-
ter and check for metal parts.
1. Remove the cover from the filter switch valve by
disconnecting the two bolts.
WARNING! Working on or approaching a running
engine is a safety hazard. Beware of rotating
parts and hot surfaces.
2. Cut off the oil flow through the right filters by tur-
ning the setting valve in position C.
3. Unscrew the oil filter using the special tool. Dis-
card the filter.
NOTE! Place a drip pan beneath the filter when
removing to avoid oil spill.
4. Lightly oil the new filter’s rubber gasket and check
its mating surface on the mounting.
A: Normal running (all filters connected).
B: Left filters can be changed.
C: Right filters can be changed.
Plus d'informations sur : www.dbmoteurs.fr

Table of Contents