EasyManua.ls Logo

Waring WCU30 - Instrucciones de Puesta a Tierra

Waring WCU30
28 pages
Print Icon
To Next Page IconTo Next Page
To Next Page IconTo Next Page
To Previous Page IconTo Previous Page
To Previous Page IconTo Previous Page
Loading...
15. Para evitar las quemaduras, no quite la tapa durante la
preparación.
16. Este aparato cuenta con un cable de puesta a tierra, con
enchufe de tierra, el cual debe ser enchufado en una toma
de corriente debidamente puesta a tierra.
GUARDE ESTAS
INSTRUCCIONES
PARA USO COMERCIAL
ÚNICAMENTE
INTRODUCCIÓN
Gracias por comprar una cafetera percoladora profesional
Waring
Commercial. Cualquiera que sea el modelo que haya
elegido, 30 tazas (4.35 L), 55 tazas (7.95 L) o 110 tazas (15.95 L),
puede estar seguro/a que su cafetera percoladora Waring ha
sido fabricada con los más altos estándares de calidad, para un
rendimiento superior. Un sistema de dos resistencias primero
prepara el café usando una temperatura más alta para garantizar
el máximo sabor, y luego lo mantiene caliente, automáticamente,
usando una temperatura más baja para que siempre esté a la
temperatura de consumo ideal. Tiempos de preparación más
cortos, altas capacidades y estilo clásico de acero inoxidable...
estas cafeteras percoladoras son perfectas tanto para los
eventos especiales como para las cocinas comerciales grandes.
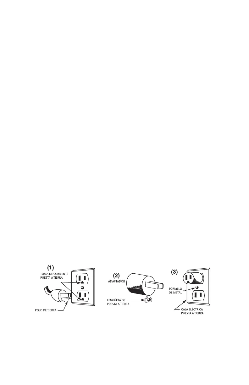
INSTRUCCIONES DE PUESTA A TIERRA
Para su protección, este aparato está equipado con un cable de
puesta a tierra, con enchufe de tierra, el cual debe ser enchufado
en una toma de corriente debidamente puesta a tierra (Fig. 1). Si
una toma de corriente con toma de tierra no está disponible, se
podrá usar un adaptador para conectar el aparato a una toma de
11

Related product manuals