EasyManua.ls Logo

Waring WCU30 - Page 19

Waring WCU30
28 pages
Print Icon
To Next Page IconTo Next Page
To Next Page IconTo Next Page
To Previous Page IconTo Previous Page
To Previous Page IconTo Previous Page
Loading...
15. Un couvercle mal fermé peut laisser déborder le café
pendant le cycle de préparation, présentant un risque de
brûlure grave.
16. Cet appareil est doté d'un cordon avec une che de mise
à la terre ; cette che doit être branchée dans une prise de
terre correctement congurée.
GARDER CES INSTRUCTIONS
POUR USAGE COMMERCIAL
UNIQUEMENT
INTRODUCTION
Merci d’avoir acheté un percolateur professionnel Waring
Commercial. Quel que soit le modèle choisi, 30 tasses (4,35 L),
55 tasses (7,95 L) ou 110 tasses (15,95 L), vous pouvez être sûr(e)
que votre percolateur Waring répond aux normes de fabrication
les plus exigeantes, pour une performance supérieure. Un
système de double résistance prépare d’abord le café à une
température plus élevée pour garantir un maximum de saveur,
puis le garde automatiquement chaud à une température plus
basse pour le maintenir à la température de dégustation idéale.
Temps de préparation plus courts, hautes capacités et style
classique en acier inoxydable... ces percolateurs sont parfaits
aussi bien pour les évènements spéciaux que pour les grandes
cuisines commerciales.
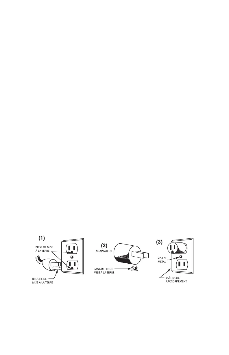
INSTRUCTIONS DE MISE À LA TERRE
Pour votre protection, cet appareil est équipé d'une che à
trois broches ; cette che doit être branchée dans une prise de
terre correctement congurée (Fig. 1). Vous pouvez utiliser un
adaptateur temporaire (Fig. 2) pour brancher l’appareil dans une
prise polarisée jusqu’à ce que vous fassiez installer une prise
de terre par un électricien. An d'assurer la mise à la terre, la
19

Related product manuals