EasyManua.ls Logo

Waves MaxxDSP Audio Processors MX5000 - Page 2

Waves MaxxDSP Audio Processors MX5000
2 pages
Print Icon
To Previous Page IconTo Previous Page
To Previous Page IconTo Previous Page
Loading...
January 2007
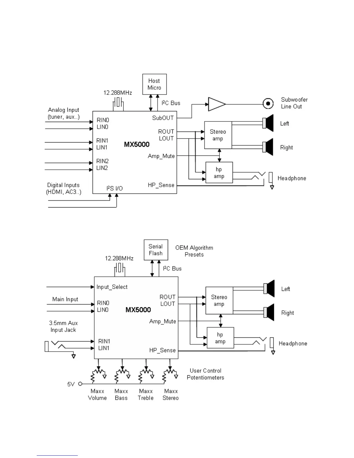
Application Examples
Television System in I
2
C Slave Mode
Active Speaker System in I
2
C Host Mode

Related product manuals