EasyManua.ls Logo

Wega JPS-352 C2 - Abschaltschaltung Shut off Circuit

Wega JPS-352 C2
40 pages
Print Icon
To Next Page IconTo Next Page
To Next Page IconTo Next Page
To Previous Page IconTo Previous Page
To Previous Page IconTo Previous Page
Loading...
5.
Abschaltschaltung
(Siehe
Abb.
12)
1)
Wenn
der
Aufwickeiteller
rotiert
:
Wenn
der
Aufwickelteller
rotiert,
dreht
sich
auch
die
auf
dem
Zahlwerk
befestigde
Lochblende.
In
Ubereinstimmung
mit
der
Lochblende
schaltet
das
Licht
der
D825
den
Fototransistor
auf
und
zu.
Die
Kollektorspannung
lduft
durch
C825
und
wird
auf
die
Basis
von
0823
gefihrt
und
sie
schaltet
Q823
wiederholt
auf
und
zu.
In
diesem
Fall
wird
nicht
abgeschaltet.
2)
Am
Bandende
Wenn
der
Aufwickelteller
zu
rotieren
aufhért,
dreht
sich
die
Lochbiende
nicht
mehr
weiter.
a)
Mit
dem
Fototransistor
(Q817)
AN:
Q816
AN
Q823,
Basispotential
:
niedriger
Pegel
—~
0823
AUS
~
1S801
(2)
hat
hohen
Pegel
Das
Gerat
wird
abgeschaltet
b)
Wenn
der
Fototransistor
(Q817)
ausgeschaltet
ist
:
Q817,AUS
(C825
aufgeladen)
~
0823,
AUS
18801
(2)
hat
hohen
Pegel
~
Das
Gerat
wird
abgeschaltet.
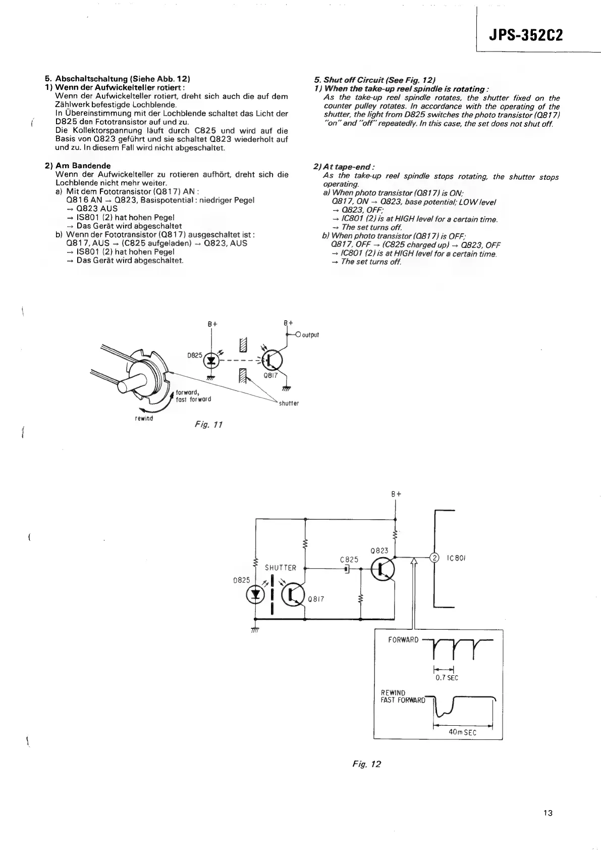
B+ B+
shutter
forward,
a,
fast
forward
ind
rewin
Fig.
11
JPS-352C2
5.
Shut
off
Circuit
(See
Fig.
12)
1)
When
the
take-up
reel
spindle
is
rotating
:
As
the
take-up
reel
spindle
rotates,
the
shutter
fixed
on
the
counter
pulley
rotates.
In
accordance
with
the
operating
of
the
shutter,
the
light
from
D825
switches
the
photo
transistor
(0817)
“on”
and
“off”
repeatedly.
in
this
case,
the
set
does
not
shut
off.
2)
At
tape-end
:
As
the
take-up
reel
spindle
stops
rotating,
the
shutter
stops
operating.
a)
When
photo
transistor
(Q817)
is
ON;
0817,
ON
>
Q823,
base
potential:
LOW
level
Q823,
OFF;
1C801
(2)
is
at
HIGH
level
for
a
certain
time.
~
The
set
turns
off.
b)
When
photo
transistor
(Q817)
is
OFF;
0817,
OFF
(C825
charged
up)
+
Q823,
OFF
1C801
(2)
is
at
HIGH
level
for
a
certain
time.
The
set
turns
off.
output
0825
FORWARD
ae
a
+
0.7
SEC
REWIND
FAST
FORWARD
|
{
\
[i
40mSEC
Fig.
12
13