EasyManua.ls Logo

Westpoint 12K - Page 105

Default Icon
150 pages
Print Icon
To Next Page IconTo Next Page
To Next Page IconTo Next Page
To Previous Page IconTo Previous Page
To Previous Page IconTo Previous Page
Loading...

             





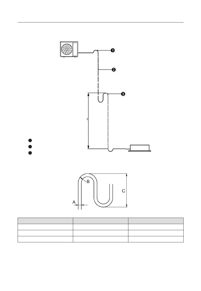
1

2

3


A (po) B (mm) C (mm)
  
  
  
