EasyManua.ls Logo

Whirlpool AVM542 - Exploded Diagram

Whirlpool AVM542
17 pages
Print Icon
To Next Page IconTo Next Page
To Next Page IconTo Next Page
To Previous Page IconTo Previous Page
To Previous Page IconTo Previous Page
Loading...
WHIRLPOOL ELECTRICAL APPLIANCES CO. LTD. SERVICE MANUAL
Ref: 54258291b PAGE 12 OF 17
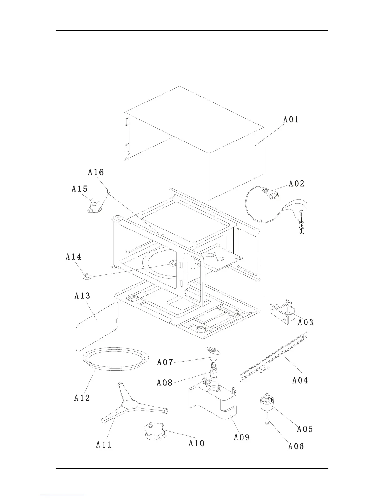
8. PART LIST
The following pages contain the service part list for this model.

Related product manuals